Хочу собрать РУ

Больше
23 нояб 2013 22:50 #6 от Doc
Doc ответил в теме Хочу собрать РУ
ну это городьба , зачем огород городить
давай начнем с простого - вот пара модулей ресивер\трансмиттер за 5 баков
www.ebay.com/itm/360738360630?ssPageName...id=p3984.m1497.l2649
правда они не квантованные

Малое знание опасно, впрочем, как и большое....

Пожалуйста Войти или Регистрация, чтобы присоединиться к беседе.

Больше
24 нояб 2013 01:29 #7 от Rrenovatio
Rrenovatio ответил в теме Хочу собрать РУ
по моему супер... :silly:
а сколько команд поддерживают?

Пожалуйста Войти или Регистрация, чтобы присоединиться к беседе.

Больше
24 нояб 2013 09:53 #8 от Doc
Doc ответил в теме Хочу собрать РУ
в нем нет командор аппарата
это только радио модули , то есть приемник и передатчик под цифровой выход

Малое знание опасно, впрочем, как и большое....

Пожалуйста Войти или Регистрация, чтобы присоединиться к беседе.

Больше
24 нояб 2013 11:21 #9 от Rrenovatio
Rrenovatio ответил в теме Хочу собрать РУ
Значит можно хоть 100 команд пропустить? :evil:
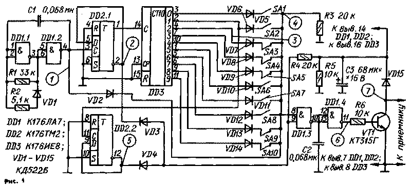
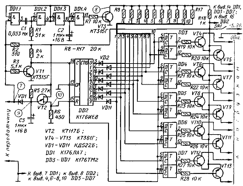
вобщим как то так:





Пожалуйста Войти или Регистрация, чтобы присоединиться к беседе.

Больше
24 нояб 2013 20:28 #10 от Светлана
Светлана ответил в теме Хочу собрать РУ

Rrenovatio пишет: вобщим как то так:

По современным меркам - сильно нагорожено, сложно и в сборке, и в настройке. Сейчас полно микросхем DTMF, которые можно с поломанных телефонов поснимать. Лучше на них сделать, до 16 команд можно получить и ничего программировать не нужно...

Если хотите, чтобы жизнь улыбалась вам, подарите ей своё хорошее настроение
Спасибо сказали: Rrenovatio

Пожалуйста Войти или Регистрация, чтобы присоединиться к беседе.

Модераторы: Doc
Вся информация, предоставленная на данном ресурсе разрешена к ознакомлению детям школьного возраста. Все практическое использование может быть связана с повышенной электрической опасностью и разрешено детям только под присмотром взрослых.