Нужна схема МОЩНЕЙШЕГО ВЧ ГЕНЕРАТОРА!

Больше
05 нояб 2013 20:33 #16 от Rrenovatio
а и самое главное вибратор под мою катушку пересчитать!!!
он в самом низу... :silly:

Пожалуйста Войти или Регистрация, чтобы присоединиться к беседе.

Больше
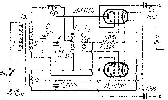
05 нояб 2013 20:59 #17 от Rrenovatio
вот ещё схемку нашёл:



тут описание: www.diagram.com.ua/list/uz-ust.shtml

кто что думает?
Вложения:

Пожалуйста Войти или Регистрация, чтобы присоединиться к беседе.

Больше
05 нояб 2013 21:09 - 05 нояб 2013 21:18 #18 от Rrenovatio


или всё же такая, только ещё одну лампу 6п3с в параллель!
или штуки 4... таких же? или что по мощнее ГУ50 и напряжение анодное вольт так 2000 взять с трансформатора микроволновки?
господа высказываем своё мнение! любой совет будет услышан!!! :whistle:
:P
вибратор думаю витков 6 - 8 по спирали... :whistle:
и тогда всё вместе заработает в резонансе!!!
л1 - это 6н3с ? или 6н8с??? :blink: и транс л1??? сколько на сколько?
Последнее редактирование: 05 нояб 2013 21:18 пользователем Rrenovatio.

Пожалуйста Войти или Регистрация, чтобы присоединиться к беседе.

Больше
05 нояб 2013 21:31 #19 от Rrenovatio
нашёл я эту книгу :( и там тоже самое... лампа 6н8с! а за транс НИЧЕГО! ст. 669...
а кстати: Радио ностальгия! старые книги - библиотека!!!

www.lib.radionostalgia.ca/Books/SpRL/sprl.html

пользуйтесь, если нужно кому. :whistle:
такое бывает редко найдёшь!

Пожалуйста Войти или Регистрация, чтобы присоединиться к беседе.

Больше
06 нояб 2013 00:29 - 06 нояб 2013 00:49 #20 от Николай Петрович
Николай Петрович ответил в теме Нужна схема МОЩНЕЙШЕГО ВЧ ГЕНЕРАТОРА!
Никогда таких катушек и мощностей не использовал. Но, а что если для определения резонанса, собрать слабенький генератор? Частоту определить осциллографом, или счётчиком?
Мощные лампы можно спросить в узле связи. Видел их там ( для радиотрансляции). размер - выше колена, водяное охлаждение, с вентилятором. Мощность не менее кВта. Думаю, что могу узнать подробнее, если нужно.
Последнее редактирование: 06 нояб 2013 00:49 пользователем Николай Петрович.

Пожалуйста Войти или Регистрация, чтобы присоединиться к беседе.

Модераторы: Doc
Вся информация, предоставленная на данном ресурсе разрешена к ознакомлению детям школьного возраста. Все практическое использование может быть связана с повышенной электрической опасностью и разрешено детям только под присмотром взрослых.