- Сообщений: 1
- Спасибо получено: 0
Авто индикатор "Электроника АИ-01"
- vicu
-
- Не в сети
Less
Больше
02 мая 2015 20:51 #6
от vicu
vicu ответил в теме Авто индикатор "Электроника АИ-01"
ЗДР!!! У меня ето слувжило верно 23 года
и вздруг проблем аналогичен Не измеряет напряжение, на табло всё время горит 0.0
а другие измерения правильние.
Помогите пожалуйста :whistle:
пс.Я из Болгария, извините если ест ошибки
а другие измерения правильние.
Помогите пожалуйста :whistle:
пс.Я из Болгария, извините если ест ошибки
Пожалуйста Войти или Регистрация, чтобы присоединиться к беседе.
- Doc
-
- Не в сети
03 мая 2015 02:34 #7
от Doc
Малое знание опасно, впрочем, как и большое....
Doc ответил в теме Авто индикатор "Электроника АИ-01"
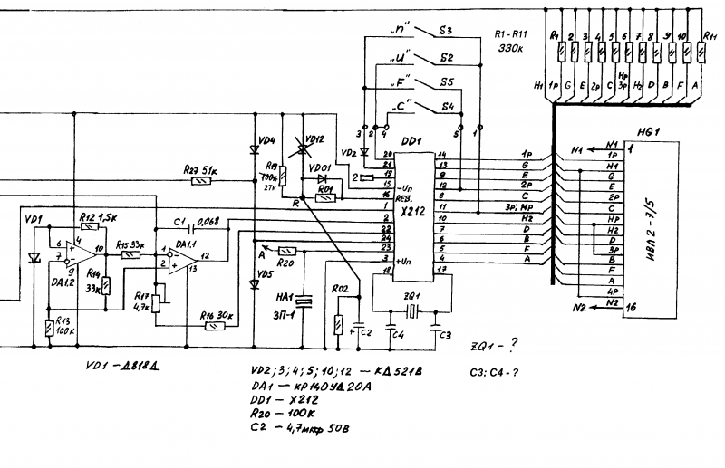
надо смотреть целостность резистора r20
похоже это он является измерителем напряжения
похоже это он является измерителем напряжения
Малое знание опасно, впрочем, как и большое....
Спасибо сказали: vicu
Пожалуйста Войти или Регистрация, чтобы присоединиться к беседе.
- Николай Петрович
-
- Не в сети
Less
Больше
- Сообщений: 1116
- Спасибо получено: 46
03 мая 2015 03:26 - 03 мая 2015 04:37 #8
от Николай Петрович
Николай Петрович ответил в теме Авто индикатор "Электроника АИ-01"
"К бабке не ходи" - выгорела Х212 точнее её коммутационная часть работающая на переключение режимов работ. Переключение режимов работ электронное. Ну а что не исправен сам переключатель это очень мало вероятно. Почти все транзисторы обеспечивают работу индикатора. Только один работает на вход "Трамблёр", но он исправен т.к. частоту прибор измеряет. Таким образом прихожу к заключению, что неисправность в Х212. При условии, что К140УД20, вмсте с обвязкой, исправна.
Можно, конечно, попробовать менять напряжение питания пробора и посмотреть на входе 2 Х212, что будет происходить там с напряжением. А при переключении режимов работ на выходе 22. Но всё же внутренний голос говорит - это Х212
Можно, конечно, попробовать менять напряжение питания пробора и посмотреть на входе 2 Х212, что будет происходить там с напряжением. А при переключении режимов работ на выходе 22. Но всё же внутренний голос говорит - это Х212
Последнее редактирование: 03 мая 2015 04:37 пользователем Николай Петрович.
Спасибо сказали: vicu
Пожалуйста Войти или Регистрация, чтобы присоединиться к беседе.
Модераторы: Doc