Конвертор УКВ

www.radio-portal.ru__konvertor01Это конвертор, позволяющий прослушивать на импортные приемники передачи УКВ радиостанций, работающие в диапазоне 66...72 МГц. Уверенный приём возможен при удалении от радиостанции на расстояние до 30 км. Принципиальная схема конвертера показана на рис.1.
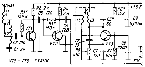
Сигнал УКВ радиостанций, работающих в диапазоне 66...72 МГц, принимается антенной WA1, выделяется настроенным на середину этого диапазона входным контуром L2C1 и усиливается апериодическим усилителем РЧ, выполненным на транзисторе VT1. Функции преобразователя частоты выполняет каскад на транзисторе VT2, на базу которого поступает входной сигнал с усилителя РЧ, а на эмиттер через катушку связи L4 сигнал гетеродина. Гетеродин собран на транзисторе VT3. Частота генерируемых им колебаний определяется контуром L3C5,включенным в коллекторную цепь транзистора VT3. Частота настройки контура выбрана в пределах 22...36 МГц. В этом случае диапазон выделяющегося на коллекторной нагрузке транзистора VT2 (резисторе R4) суммарного сигнала будет соответствовать зарубежному стандарту УКВ вещания, т. е. (62...72)+(22...36)=88... 108 МГц. Преобразованный таким образом сигнал через конденсатор С4 поступает на антенный вход импортного приемника. Причем частоту настройки контура гетеродина можно выбрать любую в пределах от 22...36 МГц. От этого выбора зависит лишь то, что в конце или начале шкалы приемника будут приниматься сигналы отечественных УКВ радиостанций. Плата и источник питания конвертера (элемент 316 на напряжение 1,5 В) помещены в экранирующий корпус из жести. Экран необходим для уменьшения паразитных наводок на близко расположенную радиоаппаратуру (телевизор, приемник и т. д.). Провода, соединяющие конвертер с собственной антенной и с антенным выходом импортного приемника, имеют длину 20... 25 см. На конце провода, соединяющего конвертер с приемником, необходимо предусмотреть зажим типа "Крокодил". Для монтажа использованы резисторы МЛТ-0,125 и конденсаторы КМ-4, КМ-5 или другие подходящих размеров. Катушки L1 и L2 бескаркасные, диаметр их намотки соответственно 3 и 6 мм. Обмотка первой катушки содержит 10 витков провода ПЭВ 0,51, а второй-6 витков провода ПЭВ 1,0 с отводом от второго сверху (по схеме) витка. Для настройки катушки L1 использован подстроечник длиной 10 и диаметром 2,8 мм из феррита 100НН. Обе катушки расположены на плате горизонтально под углом 90╟ друг к другу. Катушка L3 намотана на каркасе диаметром 6, высотой 10 мм. Она снабжена подстроечником СЦР диаметром 5, высотой 10 мм и содержит 12 витков провода ПЭВ 0,25. Катушка L4 намотана на одном каркасе с катушкой L3 и состоит из двух витков провода ПЭВ 0,25, размещенных ниже обмотки катушки L3. Вместо указанных на схеме транзисторов можно использовать ГТ328А (Б) и ГТ346А (Б, В). Транзисторы должны иметь коэффициент передачи тока h21э>=100.

Обсудить эту статью на форуме (0 ответов).
Вся информация, предоставленная на данном ресурсе разрешена к ознакомлению детям школьного возраста. Все практическое использование может быть связана с повышенной электрической опасностью и разрешено детям только под присмотром взрослых.