УКВ ЧМ приемник на 145 МГц

В последнее время радиолюбители проявляют интерес к работе на УКВ с использованием частотной модуляции (ЧМ). Этому в немалой степени способствовало появление нескольких публикаций в журнале "Радио" [1-4]. Но пока всетаки еще мало описаний простых конструкций УКВ радиоприемников. Это сдерживает развитие и популяризацию ЧМ, а также организацию УКВ ЧМ радиолюбительских сетей.

Разрабатывая описываемый здесь приемник, авторы преследовали несколько целей. Вопервых, хотелось создать несложную для повторения конструкцию. Это способствовало бы .росту числа наблюдателей на УКВ диапазонах и более интенсивному созданию УКВ ЧМ радиолюбительских сетей для местных связей. Вовторых, предлагалось использовать этот приемник в качестве дежурного и контрольного (в том числе для приема оперативной, технической и спортивной информации и контроля зa спорадическим прохождением радиоволн). Втретьих, была идея включить его в состав простой УКВ ЧМ радиостанции, использовать для работы с космической станцией "Мир". Кроме того, хотелось применить данный приемник для экспериментального приема цифровой информации.

По нашему мнению, потавленные цели достигнуты. Появление в широкой продаже микросхем серии К74 позволило создать малогабаритную, универсальную, простую и легко повторяемую конструкцию с дотаточно высокими характерстиками. Использование в приемнике модуля УПЧЗ1М от телевизоров, включающего микросхему К174УР4 и фильтры, дало возможность сократить число намоточных элементов (контуров ПЧ). При этом, правда, тракт ПЧ получился относительно широкополосным (полоса пропускания примерно в три раза больше оптимальной). Но с этим вполне можно смириться, так как пока число работающих любительских ЧМ станций невелико и, как правило, все они работают на одной частоте.

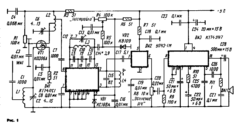
Приемник построен по супергетеродинной схеме с одним преобразованием частоты (рис. 1). Он работает в диапазоне частот 145,4,., 145,7 МГц. Чувствительность - около 5 мкВ. Промежуточная частота равна 6,5 МГц. Полоса пропускания по РЧ-ЗОО кГц, по ПЧ- 50 кГц. Входное сопротивление приемника - 75 0м. Выходная мощность тракта 34 - не менее 0,5 Вт. Аппарат питается от источника напряжением 9 В и потребляет ток (при средней громкости приема) около 50 мА.

Сигнал из антенны через конденсатор С1 поступает на контур L1C2, подключенный полностью к первому затвору полевого транзистора VT1, выполняющего функции усилителя РЧ. Изменяя подстроечным резистором R1 напряжение смещения на втором затворе этого транзистора, можно регулировать усиление каскада до необходимого или оптимального уровня. Контур L2C6, являющийся нагрузкой усилителя РЧ, подключен к стоку транзистора частично.

С части витков катушки L2 сигнал РЧ поступает на смеситель, выполненный на микросхеме DA1. На ней же собран генератор плавного диапазона. Его частотозадающий контур L3C12 перестраивают варикапом VD2 в пределах 139,9...139,2 МГц. Колебания промежуточной частоты 6,5 МГц выделяются на контуре L4C15. Выбранная ПЧ определяется используемым модулем УПЧЗ1М. В составе модуля имеется двухкристальный полосовой фильтр, восьмикаскадный усилительограничитель ПЧ, детектор и предварительный усилитель 34, Активная часть модуля выполнена на микросхеме К174УР4.

С выхода модуля (вывод 6) напряжение 34 через регулятор громкости (резистор R8) поступает на оконечный усилитель 34, собранный на микросхеме DA3, которая включена по более простой по сравнению с типовой схеме.

Выход микросхемы DA3 (вывод 12) нагружен на громкоговоритель ВА1.

Детали приемника в основном малогабаритные. Все постоянные резисторы, кроме R11,- ОМЛТ0,125. Резистор R11 можно изготовить самостоятельно, намотав нужное количество высокоомного провода (нихромового) на резистор МЛТ0,25. В качестве подстроечного резистора R1 можно использовать СПЗ38А, СПЗ41 и другие. Резисторы R4 и R8- практически любые, имеющиеся в наличие у радиолюбителя.

Конденсаторы постоянной емкости можно использовать любые малогабаритные, например КМ; оксидные - К506 или более современные К5016. Конденсаторы С9-С11, С14 должны быть по возможности с малым значением ТКЕ. Подстровчные конденсаторы С2, С6 - МП, С12-с воздушным диэлектриком 1КПВМ, который с худшим результатом заменим на КПКМН (без изменения печатной платы).

Вместо микросхемы К174ПС1 (DA1) можно использовать без доработки платы К174ПС4. Допустима замена модуля УПЧЗ1М наУПЧЗ2. Микросхема К174УН7 может быть заменена (с изменением рисунка печатной платы) на К174УН4, однако, последняя, как показал опыт, работает неустойчиво.

Транзистор VT1 (КП306А) допускает замену на КП306 или КП350 с любым буквенным индексом. Стабилитрон VD1 - малогабаритный с напряжением стабилизации 5,6.. .8 В. Громкоговоритель ВА1 может быть любым с сопротивлением звуковой катушки в пределах 4...8 0м и мощностью 0,25...1 Вт.

Катушки L1 и L2- бескаркасные с наружным диаметром 6 мм, намотаны посеребренным проводом диаметром 0,7 мм. Длина намотки катушки L1 - 9 мм, число витков 1+4, катушки L2 - 7 мм, а число витков 1+1+2. В обоих случаях отсчет витков ведется от вывода, соединенного с проводом питания. Катушка L3 намотана таким же проводом, что и L1, L2, на керамическом каркасе диаметром 5 мм (наматывают с натяжением) с последующей пропиткой клеем БФ2. Число витков - 4, длина намотки - 10 мм. Очень удобно для изготовления этой катушки использовать керамические каркасы от УКВ радиостанции "Марс". Катушка L4 намотана проводом ПЭЛШО 0,15 в броневом магнйтопроводе СБ9а. Она имеет 20 витков, отвод сделан от середины.

Конструкция приемника может быть любой. Один из возможных вариантов оформления аппарата показан в начале статьи. Очень удобно, например, собрать приемник в корпусе бытового абонентского громкоговорителя, применив любой источник питания напряжением 8...12 В.

Большинство радиоэлементов приемника установлено на печатной плате, выполненной из одностороннего фольгированного стеклотекстолита толщиной 1,5...2 мм. Размещение деталей показано на рис. 2, фотошаблона - на рис. 3.
По размерам платы из дюралюминиевого сплава делаются основание, прикрепляемое к ней снизу посредством винтов МЗ и металлических втулок длиной 5 мм, которое играет роль экрана (рис. 4). В плате и основании следует просверлить отверстия для доступа к подстроечным элементам (С12, L4) и под крепежные детали.

Микросхему DA3 крепят к печатной плате с помощью винтов М2,5 и втулок. Теплоотвод на микросхему можно не ставить.

Для связи с внешними элементами в печатную плату следует впрессовать монтажные шпильки (или отрезки провода длиной 10...15 мм). Резистор R4 ("Настройка") снабжают простейшей шкалой с делениями через 25 кГц.

На плате со стороны деталей участок, где располагается микросхема DAI, контуры L3C12, L4C15 и некоторые другие детали, огораживают экраном из медной фольги толщиной 0,15... 0,5 мм (см. рис. 2). Высота экрана 30 мм. Для его крепления и пайки в плате предусмотрены отверстия.

При исправных деталях налаживание приемника заключается в настройке колебательных контуров на соответствующую частоту. Для налаживания необходимы сигналгенератор, УКВ генератор, частотомер, работающий на частотах до 150 МГц, и генератор ЗЧ.

Тракт звуковой частоты проверяют, подав с генератора 34 сигнал частотой 1000 Гц и амплитудой 50...100 мВ на верхний по схеме вывод регулятора громкости. Тракт ПЧ - 34 при исправных модуле и микросхеме DA3, как правило, работает сразу. При подключении к выводу 1 модуля УПЧЗ1М небольшого отрезка провода слышны радиовещательные станции, работающие на частотах возле 6,5 МГц.

При налаживании тракта ПЧ-34 с помощью сигналгенератора на вход DA1 (вывод 8) подают частотномодулированный сигнал с амплитудой 5,.,10 мВ и частотой 6,5 МГц, Изменяя положение подстроечника катушки L4, добиваются максимальной громкости сигнала на выходе приемника. Если в приборе нет частотной модуляции, то контур L4C15 настраивают до исчезновения шипения в громкоговорителе.

Далее контур L3C12 в ГПД настраивают на частоту в интервале 138,9... 139,2 МГц. Частотомер подключают к выводу 13 микросхемы DA1 через минимально возможную емкость конденсатора (1 ...2 пФ). При наличии колебаний в контуре конденсатором С12 "вгоняют" ГПД в нужный диапазон частот при среднем положении переменного резистора R4. После этого проверяют перекрытие частот гетеродином, оно должно быть 300...500 кГц. При необходимости интервал перестройки можно изменить подбором конденсатора С14.

Усилитель РЧ налаживают, подав сигнал рабочей частоты амплитудой около 100 мкВ на вход приемника. Движок резистора R1 при этом должен быть в среднем положении. Вначале настраивают контур L1C2 по максимуму выходного сигнала, а затем, уменьшив уровень сигнала с УКВ генератора до 10 мкВ, контур L2C6. По уровню выходного сигнала уточняют положение отводов катушек LI, L2 и положение движка резистора R1.

Окончательно настраивают приемник с наружной антенной (с входным сопротивлением 75 0м) во время работы любительских радиостанций. С использованием комнатной антенны в виде вертикального штыря длиной около 0,5 м авторы статьи наблюдали по приемнику за работой многих любительских станций УКВ ЧМ радиосети г. Твери.

ЛИТЕРАТУРА
1. Поляков В. УК8 ЧМ радиостанция.-Радио, 1989, № 10, с. 30-34.
2. Аллика М. ЧМ трансивер на 144 МГц.-Радио, 1988, № 3, с. 19-21, NS 4, с. 15-17.
3. Михельсои А. ЧМ приемник на диапазон 430 МГц,- Радио, 1989, № 11, с. 29-31.
4. Захаров А. УКВ ЧМ приемник с ФАПЧ.-Радио, 1985, № 12, с. 28-30.
5. Бондарев В„ Рукавишников А. Применение микросхемы К 174ПС 1.-Радио. 1989, № 2. с. 55-56.
6. Поляков В. Радиосвязь с ФМ,- Радио, 1985, N9 1, с. 24- 26.
7. Горшков Б. Элементы радиоэлектронных устройств./ Справочник.- М.: Радио и связь, 1988, с. 77, 78, 83.

Обсудить эту статью на форуме (0 ответов).
Вся информация, предоставленная на данном ресурсе разрешена к ознакомлению детям школьного возраста. Все практическое использование может быть связана с повышенной электрической опасностью и разрешено детям только под присмотром взрослых.