Имитатор шума дождя

По принципу работы такой имитатор соответствует ранее описанному имитатору шума "прибоя".

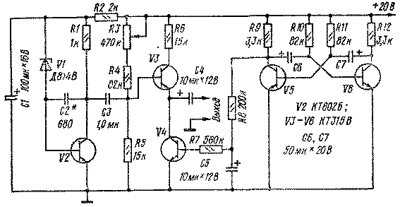
Генератор шума выполнен на транзисторе V2 и стабилитроне VI. Генератор импульсов, выполненный на транзисторах V5 и V6, вырабатывает импульсы с частотой 1...3 Гц, которые поступают на базу транзистора V4 и изменяют коэффициент усиления транзистора V3, в результате чего на выходе появляется то нарастающий, то спадающий шум, уровень которого регулируется переменным резистором R3, а тембр - подбором конденсатора С2.

Детали. В схеме применены транзисторы V3-V6 типа КТ315, V2 типов КТ602А-КТ602Г, КТ603А- КТ603Д. Стабилитрон подбирают по наибольшему уровню шума на выходе имитатора.

 

Обсудить эту статью на форуме (0 ответов).
Вся информация, предоставленная на данном ресурсе разрешена к ознакомлению детям школьного возраста. Все практическое использование может быть связана с повышенной электрической опасностью и разрешено детям только под присмотром взрослых.