При разработке этого устройства авторы ставили перед собой задачи получить высокое быстродействие, минимальные помехи радиоприему, малое потребление энергии, а также добиться универсальности в применении, т.е. возможности гибкой перестройки режима работы.
Описываемая цифровая шкала - трехвходовая, она позволяет измерять частоту сигнала в интервале 0, 01...30 МГц, Разрешающая способность - 0,1 кГц, Время измерения - 0,5 с. Уровень входного сигнала может находиться в пределах 0,25... 1,5 В. Входное сопротивление - 8,2 кОм. Узел потребляет от источника питания напряжением 15 В ток 50 мА.
Особенностью устройства является возможность его работы в нескольких режимах в соответствии с принципом формирования частоты настройки приемника или трансивера. Алгоритм работы цифровой шкалы зависит от двоичного кода на управляющих входах So, Si. Показания индикатора определяются частотами fi, fa, fs гетеродинов, сигналы которых подают на входы в соответствии с таблицей.
|
Состояние |
|
|
|
Входа |
|
|
|
|
|
Режим работы |
|
S, |
So |
|
|
0 |
0 |
Y==f1+f2+f3 |
|
0 |
1 |
Y=f1+f2-f3 |
|
1 |
0 |
Y=f1-f2+f3 |
|
1 |
1 |
Y=f1-f2-f3 |
Устройство может быть использовано без переделок в трансиверах с одним или двумя преобразованиями частоты. Кроме того, его можно применять в качестве частотомера. При этом измеряемый сигнал может быть подан на любой "суммирующий" вход.
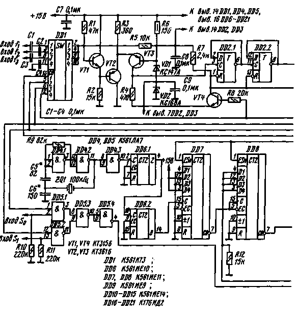
Принципиальная схема цифровой шкалы показана на рис. 1. Шкала состоит из входного мультиплексора DD1, формирователя импульсов в уровнях ТТЛ на транзисторах VT1- VT3, быстродействующего делителя частоты на 16 на триггерах DD2, DD3, шестидекадного реверсивного счетчика (DD10-DD15), регистра с дешифратором двоично-десятичного кода в код семисегментного индикатора (DD16-DD21), цифровых индикаторов - HG1-HG6, кварцевого генератора на элементах DD4.1, DD4.2 и узла управления (DD5-DD9).
Входные сигналы с частотами f1, f2, f3 поочередно проходят через формирователь импульсов, делитель частоты и поступают на вход счетчика. В зависимости от комбинации внешних сигналов, поступающих на входы S1, S0 узла управления, счетчик устанавливается в режим сложения или вычитания в соответствии с приведенной выше таблицей режимов работы.
|
Устройство управления определяет порядок следования входных сигналов, вырабатывает импульсы счета необходимой длительности, установки счетчика в нулевое состояние и записи результата счета в регистр с дешифратором. Работа всего устройства синхронизирована импульсами, формируемыми кварцевым генератором. С его выхода они через управляемый делитель частоты DD6-DD8 поступают на вход ЕС счетчика команд DD9. Общий коэффициент деления счетчиков DD6.1, DD6.2 - 64. Коэффициент пересчета микросхем DD7, DD8 равен 10, если на их входах D1-D4 низкий логический уровень, и 250 - если высокий.
Взаимодействие узлов рассмотрим с момента, когда на выходе 0 счетчика DD9 появляется импульс, разрешающий предварительную запись начального кода в реверсивные счетчики DD10-DD15. Очередной импульс, пришедший на вход ЕС счетчика DD9, вызовет появление на выходе 1 высокого логического уровня, который поступает на входы предустановки счетчика DD8, в результате чего коэффициент пересчета частоты кварцевого генератора становится равным 16000. Под действием этого сигнала также открывается первый ключ (между выводами 1 и 2) мультиплексора DD1 и сигнал с частотой f1 проходит в измерительный канал.
Счетчики DD10-DD15 при измерении частоты f1 работают в режиме суммирования, так как на их входы ±1 независимо от управляющих сигналов на входах S0, S1 с выхода элемента DD5.4 поступает высокий логический уровень. При низком уровне шестидекадный реверсивный счетчик работает в режиме вычитания.
Через 16 000 тактов кварцевого генератора (через 160 мс) появится импульс на выходе 2 счетчика команд DD9. На этом будет закончен счет входного сигнала с частотой f1.
Число импульсов, поступивших на счетчик при измерении, равно Ni=(f1/16)t1=0,01f1, где t1 - время счета, равное 160 мс.
В состоянии "2" счетчика команд DD9 формируется пауза, в течение которой запрещен счет, делитель частоты в измерительном канале устанавливается в исходное - нулевое - состояние, а вход формирователя импульсов оказывается соединенным с общим проводом через конденсатор С4. Длительность паузы - 6,4 мс, так как во время паузы коэффициент деления частоты микросхем DD7, DD8 равен 10.
После окончания паузы счетчик команд перейдет в состояние "З". При этом в измерительный канал поступает сигнал с частотой f2. Одновременно узел управления реверсом вырабатывает сигнал направления счета (логическая 1 - суммирование, 0 - вычитание) в зависимости от управляющих сигналов S0, S1. Счет сигнала частотой f2 длится также 160 мс. К концу счета число импульсов, подсчитанных счетчиком, увеличится или уменьшится на 0,01f2. По окончании счета будет сформирована пауза (счетчик команд в состоянии "4"). Аналогичные процессы происходят при исследовании сигнала с частотой f3, после чего наступает очередная пауза.
В состоянии "7" счетчика DD9 формируется последняя команда цикла. По ней информация со счетчиков. DD10- DD15 записывается в регистр с дешифратором (DD16-DD21) и отображается индикаторами HG1-HG6. Затем цикл команд повторится. Период измерения определяется суммарной длительностью всех команд и равен 505,6 мс.
Высокое быстродействие (30 МГц) получено благодаря использованию быстродействующего делителя частоты на базе ТТЛШ-триггеров DD2, DD3. Стыковка по уровням сигналов микросхем ТТЛШ и КМОП получена с помощью необычного способа питания триггеров ТТЛШ. Питание на эти микросхемы подают с выводов стабилитрона VD1, анод которого соединен с общим проводом через стабилитрон VD2. В результате уровни сигналов на выходе делителя частоты равны 6,8 (логический 0) и 10,8 (логическая 1) В. Эти уровни расположены симметрично относительно напряжения переключения счетчиков DDIO- DD15, что обеспечивает нормальную работу устройства.
Статическая индикация результата и элементы КМОП обеспечивают малое излучение радиопомех и приемлемую яркость индикаторов при выбранном напряжении питания (15 В). Налаживание устройства сво-дится к установке частоты квар-цевого генератора подбором конденсатора С6, так как точность шкалы зависит от точности установки частоты кварцевого генератора. При отсут-ствии счета возможно потребуется заменить стабилитрон' VD2 - КС168А на КС162А или КС156А, если напряжение переключения счетчиков DDIO- DD15 окажется ниже.
|
Цифровая шкала смонтирована на двух печатных платах (рис.3), (рис.4), (рис.5), причем на одной из них находятся только микросхемы. Платы расположены в корпусе одна над другой. В устройстве может быть использован также кварцевый резонатор на 200 или 400 кГц. В этих случаях вывод 10 микросхемы DD6 соединяют соответственно с выводом 5 или 6, а не 4. Диоды VD3-VD9 - любые высокочастотные. Вместо дешифраторов К176ИД2 можно применить К176ИДЗ.
При установке устройства в трансивер сигналы на входы шкалы надо подавать по коротким экранированным проводам. Управляющие сигналы на входы S0, S1 снимают с переключателя диапазонов, при этом уровень логической 1 должен быть в пределах 11...15 В, О - 0...5 В.
В. БУРАВЛЕВ, С. ВАРТАЗАРЯН (UA6LD), В. КОЛОМИЙЦЕВ
(Радио 4/90)
|