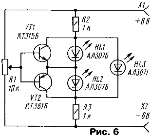
Трехуровневый индикатор напряжения

Он выдает световые сигналы по принципу меньше нормы - норма - больше нормы. Для этого в индикаторе использованы два светодиода красного свечения и один - зеленого.

При некотором напряжении на движке переменного резистора R1 ("напряжение в норме") оба транзистора закрыты и "работает" только зеленый светодиод HL3. Перемещение движка резистора вверх по схеме приводит к увеличению напряжения ("больше нормы") на нем. Открывается транзистор VT1. Светодиод HL3 гаснет, а HL1 зажигается. Если движок перемещать вниз и уменьшать таким образом напряжение на нем ("меньше нормы"), транзистор VT1 закроется, а VT2 откроется. Будет наблюдаться такая картина: вначале погаснет светодиод HL1, затем зажжется и вскоре погаснет HL3 и в заключение вспыхнет HL2.

Из-за низкой чувствительности индикатора получается плавный переход от погасания одного светодиода к зажиганию другого: еще не погас полностью, например, HL1, а уже зажигается HL3.

Обсудить эту статью на форуме (0 ответов).
Вся информация, предоставленная на данном ресурсе разрешена к ознакомлению детям школьного возраста. Все практическое использование может быть связана с повышенной электрической опасностью и разрешено детям только под присмотром взрослых.