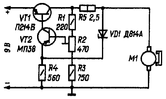
Стабилизатор частоты вращения электродвигателя

Занимаясь длительное время ремонтом бытовых магнитофонов, я часто сталкивался с выходом из строя стабилизатора частоты вращения вала электродвигателя. Пришлось разработать свой вариант этого устройства (рис.1), не содержащего дефицитных деталей и, как оказалось, более надежного в работе.

Обсудить эту статью на форуме (0 ответов).
Вся информация, предоставленная на данном ресурсе разрешена к ознакомлению детям школьного возраста. Все практическое использование может быть связана с повышенной электрической опасностью и разрешено детям только под присмотром взрослых.