Бывает, что вам нужно проследить за током, потребляемым нагрузкой, и в случае его превышения - вовремя отключить источник питания, чтобы не вышли из строя нагрузка или источник. Для выполнения подобной задачи служат сигнализаторы, извещающие о превышении нормы потребляемого тока. Особую роль выполняют такие устройства при коротком замыкании в цепи нагрузки.
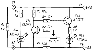
Каков принцип работы сигнализатора? Понять его позволит предлагаемый макет устройства, выполненный на двух транзисторах. Если резистор R1 отключен от гнезд Х1, Х2, нагрузкой для источника питания (его подключают к гнездам Х3, Х4) будет цепь из резистора R2 и светодиода HL1 - он горит, информируя о наличии напряжения на гнездах Х1 и Х2. При этом ток протекает через датчик сигнализатора - резистор R6. Но падение напряжения на нем невелико, поэтому транзистор VT1 закрыт. Соответственно закрыт и транзистор VT2, светодиод HL2 погашен. Стоит подключить к гнездам Х1, Х2 дополнительную нагрузку в виде резистора R1 и увеличить таким образом общий ток, как падение напряжения на резисторе R6 увеличится. При соответствующем положении движка переменного резистора R7, которым устанавливают порог срабатывания сигнализатора, транзисторы VT1 и VT2 откроются. Вспыхнет светодиод HL2 и просигнализирует о критической ситуации. Светодиод HL1 продолжает светиться, сообщая о наличии напряжения на нагрузке.
А что будет при коротком замыкании в цепи нагрузки? Для этого достаточно замкнуть (на короткое время) гнезда Х1 и Х2. Снова вспыхнет светодиод HL2, а HL1 погаснет.
Движок переменного резистора можно установить в такое положение, при котором сигнализатор не будет реагировать на подключение резистора R1 сопротивлением 1 кОм, но "сработает", когда на месте дополнительной нагрузки окажется резистор, скажем, сопротивлением 300 Ом (он входит в состав набора).
Сигнализатор перегрузки по току
Doc
Просмотров: 5427