Музыкальный тренажер

Музыкальный тренажер предназначен для тех, кто учится петь. Напевая через микрофон тренажера, можно контролировать по зажигающимся лампочкам, какую ноту вы взяли.

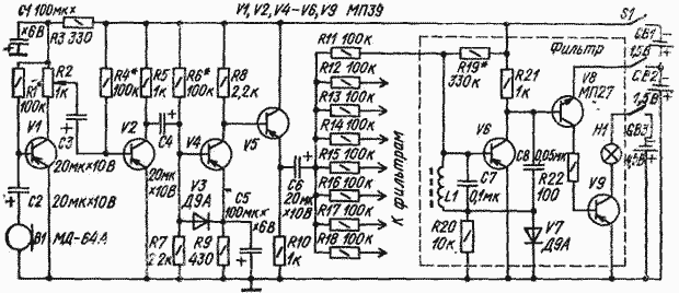
Сигнал с микрофона В1 подается на двухкаскадный усилитель (транзисторы VI и V2). Коэффициент усиления можно установить переменным резистором R2. С нагрузки второго каскада (резистор R5) сигнал подается на ограничитель (транзистор V4), необходимый для получения постоянной амплитуды сигнала при изменении расстояния между певцом и микрофоном. С резистора нагрузки (RJO) эмиттерного повторителя (транзистор V5) сигнал поступает через конденсатор С6 и развязывающие резисторы R11-R18 на частотно-избирательные фильтры.

Каждый фильтр состоит из резонансного контура (катушка индуктивности L1 и конденсатор С7), усилителя НЧ (транзистор V6), детектора (диод V7) и трехкаскадного усилителя постоянного тока (транзисторы V6, V8, V9), нагруженного на индикаторную лампочку Н1.

Колебательный контур каждого фильтра настроен на свою частоту. Так, контур первого фильтра, изображенного на схеме, настроен на частоту 261 Гц (нота До первой октавы), второго - 293, 5 Гц (Ре), далее 329,5 Гц (Ми), 34Э Гц (Фа), 392 Гц (Соль), 440 Гц (Ля), 494 Гц (Си), 523 Гц (До второй октавы).

Электролитические конденсаторы - К50-6, остальные - MEM; постоянные резисторы-МЛТ 0,25, переменный-СП-1. Диоды могут быть любые серии Д9.

Катушка намотана на двух сложенных вместе альсиферовых кольцах типоразмера К55 X 32 X 11,7; индуктивность ее для первого фильтра - около 2,3 Гн. Точнее индуктивность катушек подбирают при налаживании тренажера. Лампа HI - МН2.5 X 0,15; источник питания GB3 - батарея 3336Л, GB1 и GB2 - элементы 373; микрофон - МД64А; выключатель питания - трехсекционный.

Налаживание прибора начинают с установки режимов работы транзисторов. Подбором резисторов R1*, R4*, R6* добиваются, чтобы напряжение на коллекторе соответствующего транзистора было примерно 1,5 В. Затем подают на вход тренажера (микрофон отключают) сигнал с генератора НЧ. Устанавливая на генераторе нужные резонансные частоты фильтров, подбирают число витков соответствующих катушек. Индикатором настройки фильтра служит лампа HI. Выходное напряжение генератора должно быть немногим больше минимального напряжения, при котором зажигается сигнальная лампочка. Одинаковый уровень срабатывания частотно-избирательных фильтров устанавливают подбором резисторов R19*.

Обсудить эту статью на форуме (0 ответов).
Вся информация, предоставленная на данном ресурсе разрешена к ознакомлению детям школьного возраста. Все практическое использование может быть связана с повышенной электрической опасностью и разрешено детям только под присмотром взрослых.