Генераторы световых импульсов

У начинающих радиолюбителей весьма популярны разнообразные "мигалки" — генераторы световых импульсов. Их можно устанавливать на детские игрушки, использовать в аттракционах, размещать на видном месте в салоне автомобиля для имитации действия сторожевого устройства. С некоторыми вариантами таких устройств знакомит предлагаемая подборка.

...С ТРИНИСТОРАМИ

Сравнительно простые "мигалки" получаются при использовании тринисторов. Правда, особенность работы большинства тринисторов заключается в том, что они открываются при подаче на управляющий электрод определенного напряжения (тока), а для их закрывания необходимо уменьшить анодный ток до значения ниже тока удержания.

Если питать тринистор от источника переменного или пульсирующего напряжения, он будет автоматически закрываться при прохождении тока через ноль. При питании же от источника постоянного напряжения тринистор просто так закрываться не станет, придется использовать специальные технические решения.

Схема одного из вариантов "мигалки" на тринисторах приведена на рис. 1. Устройство содержит генератор коротких импульсов на однопереходном транзисторе VT1 и два каскада на тринисторах. В анодную цепь одного из тринисторов (VS2) включена лампа накаливания EL1.

Работает устройство так. В начальный момент после подачи питания оба тринистора закрыты и лампа не горит. Генератор вырабатывает короткие мощные импульсы с интервалом, определяемым параметрами цепочки R1C1. Первый же импульс поступит на управляющие электроды тринисторов, и они откроются. Лампа зажжется.

За счет тока, протекающего через лампу, тринистор VS2 останется открытым, а вот VS1 закроется, так как его анодный ток, определяемый резистором R2, слишком мал. Конденсатор С2 начнет заряжаться через этот резистор и к моменту появления второго импульса генератора окажется заряженным. Этот импульс приведет к открыванию тринистора VS1, и левый по схеме вывод конденсатора С2 будет кратковременно подключен к катоду тринистора VS2. Но даже такого подключения достаточно, чтобы тринистор закрылся и лампа погасла.

Таким образом, оба тринистора окажутся закрытыми, конденсатор С2 разрядится. Следующий импульс генератора приведет к открыванию тринисторов, описанный процесс повторится. Лампа вспыхивает с частотой, вдвое меньшей частоты генератора.

Для указанных на схеме элементов можно использовать лампу накаливания (либо несколько ламп, включенных последовательно или параллельно) с током до 0,5 А. Если использовать все возможности указанных тринисторов, допустимо применить лампу, потребляющую ток до 5 А. В этом случае для надежного закрывания тринистора VS2 емкость конденсатора С2 надо увеличить до 330...470 мкф. Соответственно придется увеличить емкость конденсатора С1, чтобы в периоды между импульсами генератора конденсатор С2 успевал зарядиться. Тринистор VS2 следует разместить на небольшом радиаторе.

Детали "мигалки" монтируют на печатной плате (рис. 2) из одностороннего фольгированного гетинакса или стеклотекстолита. Оксидный конденсатор С2 — обязательно алюминиевый, серий К50-6, К50-16,К50-35.

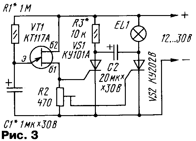
Если ток лампы не превышает 0,5 А, один из тринисторов можно заменить на маломощный, например, КУ101А (рис. 3). Поскольку напряжения на управляющих электродах тринисторов, при которых они открываются, различны, в устройство введен подстроечный резистор R2, с помощью которого подбирают оптимальный режим их работы. Кроме того, увеличивают сопротивление резистора (R3) в цепи анода тринистора VS1.

Детали устройства размещают на печатной плате (рис. 4) из фольгированного материала.

Налаживание конструкций сводится к установке требуемой частоты "миганий" лампы подбором конденсатора С1. Если лампа накаливания загорается, но не гаснет, значит, либо тринистор VS1 не закрывается (следует увеличить сопротивление резистора R2 в первой "мигалке" или R3 во второй), либо не успевает зарядиться конденсатор С2. Тогда желательно уменьшить его емкость, а еще лучше — частоту переключении. Во второй "мигалке" нужно установить движок подстроечного резистора в такое положение, при котором устойчиво срабатывают оба тринистора.

... С ДВУХЦВЕТНЫМИ СВЕТОДИОДАМИ

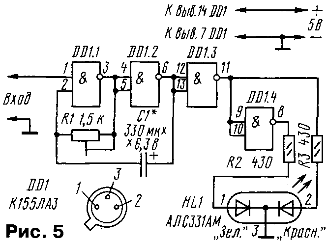
О двухцветных светодиодах (их еще называют двукристальными) рассказывалось в справочном листке "Двукристальные светоизлучающие диоды" в "Радио", 1998, N 11,. с. 57—60; 1999, N 1, с. 51—54. Они могут найти широкое применение в ряде радиолюбительских конструкций. Вот, к примеру, генератор (рис. 5), который может служить индикатором перегрузки, сигнализатором режимов работы. Его нетрудно встроить в соответствующее электронное устройство. В нем, кроме двухцветного светодиода HL1, использована микросхема структуры ТТЛ (ТТЛШ).

Основа конструкции — генератор импульсов, собранный на логических элементах DD1.1, DD1.2. С генератором соединены каскады на элементах DD1.3, DD1.4. К их выходам подключен (через токоограничивающие резисторы R2 и R3) двухцветный светодиод. При подаче на управляющий вход (вывод 1 элемента DD1.1) низкого логического уровня генератор работать не будет и на выходе элемента DD1.3 установится высокий уровень, а на выходе DD1.4 — низкий. Засветится правый по схеме кристалл светодиода HL1. Цвет свечения может быть красным или зеленым, в зависимости от того, как подключить светодиод (при указанном на схеме варианте включения выводов цвет будет красный).

Если такой генератор использовать как индикатор аварийной ситуации, то правый кристалл должен быть зеленым, и его свечение укажет на нормальную работу контролируемого узла.

В случае поступления на управляющий вход (например, когда появится неисправность) высокого логического уровня генератор начнет работать. Импульсы поступят на логические элементы DD1.3, DD1.4, их состояние станет поочередно меняться, и светодиод будет изменять цвет своего свечения с частотой следования импульсов генератора.

Вместо указанной на схеме допустимо применить аналогичные микросхемы серий К155, 530, К531, КР531, 533, К555,1553, КР1533, а также другие микросхемы структуры ТТЛ или ТТЛШ (кроме элементов с открытым коллектором). Подстроечный резистор — СП3, постоянные — МЛТ, С2-33, конденсатор— К50-6, К50-16.

Налаживание устройства сводится к установке резистором R1 режима устойчивой генерации при минимальной частоте. Нужную частоту следования импульсов можно установить подбором конденсатора. Чтобы изменения цвета свечения были заметны, эта частота должна быть не более нескольких герц. Яркость свечения светодиодов можно немного увеличить подбором резисторов R2, R3 меньшего сопротивления.

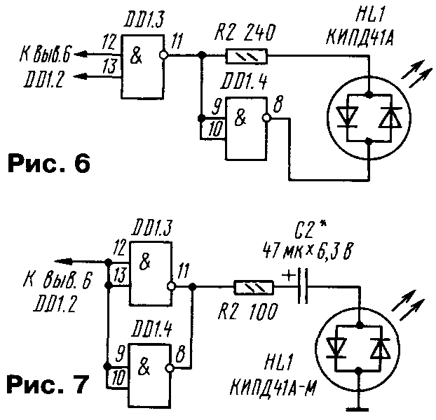
В этом устройстве использованы двухцветные светодиоды с раздельными выводами от кристаллов. Если применить светодиоды со встречно-параллельным включением (с двумя выводами) КИПД41А—КИПД41М или любой из серии КИПД45, схему надо изменить в соответствии с рис. 6.

Для того, чтобы светодиод не менял цвета своего свечения, а кратковременно вспыхивал поочередно разным цветом, схему надо изменить в соответствии с рис. 7. В этом варианте при появлении высокого уровня на выходах элементов DD1.3, DD1.4 будет заряжаться конденсатор С2 и кратковременно вспыхнет левый по схеме кристалл светодиода. Когда же появится низкий логический уровень, конденсатор начнет разряжаться, вспыхнет правый кристалл. Подбором конденсатора С2 добиваются нужной длительности вспышек.

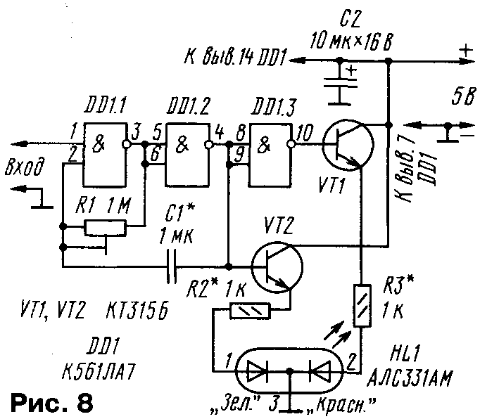
Схема генератора световых импульсов на микросхеме структуры КМОП приведена на рис. 8. Поскольку эта микросхема обладает невысокой нагрузочной способностью, для согласования генератора, выполненного на элементах DD1.1,DD1.2, и буферного элемента DD1.3 со светодиодом HL1 в устройство введены транзисторы VT1, VT2. Здесь управление генератором также осуществляется подачей на вывод 1 элемента DD1.1 логических уровней. При низком уровне генератор не работает, светится правый по схеме кристалл светодиода. Когда же поступает высокий уровень, генератор включается, цвет свечения светодиода изменяется с частотой следования импульсов генератора.

Частоту генератора грубо устанавливают подбором конденсатора С1, а плавно — резистором R1. Яркость свечения устанавливают подбором резисторов R2, R3.

В этом генераторе хорошо работают элементы большинства микросхем структуры КМОП (кроме элементов с открытым стоком). Транзисторы — любые из серии КТ315, КТ3102, конденсатор С1 — К10-17, К73, МБМ, С2 — К50-6, К50-35, К52, резисторы — такие же, что и в предыдущем генераторе.

Для светодиодов со встречно-параллельным включением излучающих кристаллов схему надо изменить в соответствии с рис. 9

.

Подбором конденсатора С3 можно установить различный режим работы светодиода: при увеличении его емкости цвет свечения будет меняться скачком; если же ее уменьшить, появятся короткие вспышки с поочередным изменением цвета свечения. Более плавно режим устанавливают подбором резистора R2.

Транзисторы — любые из указанных на схеме серий. Остальные детали — таких же типов, что и в предыдущих конструкциях.

Обсудить эту статью на форуме (0 ответов).
Вся информация, предоставленная на данном ресурсе разрешена к ознакомлению детям школьного возраста. Все практическое использование может быть связана с повышенной электрической опасностью и разрешено детям только под присмотром взрослых.