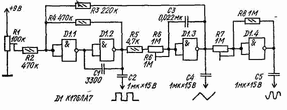
Логическая микросхема на МОП-транзисторах с дополнительной симметрией позволяет построить генератор, дающий прямоугольные, треугольные и синусоидальные колебания.
В зависимости от емкости конденсатора СЗ частоту генерируемых колебаний можно изменить в пределах от 35 до 3500 Гц. Основу генератора составляет компаратор на элементах D1.1 и D1.2. С выхода компаратора сигнал поступает на интегратор (СЗ, R6, D1.3). Элемент D1.4 используют как нелинейный усилитель. Регулируя уровень входного напряжения резистором R7 на входе элемента D1.4, добиваются получения на его выходе синусоидальных колебаний. Потенциометр R1 служит для получения симметричных колебаний, частоту импульсов меняют резистором R6.
