Генератоы прямоугольных импульсов на микросхемах КМОП

Автор этой статьи провел экспериментальную работу по исследованию характеристик различных генераторов на микросхемах структуры КМОП. В результате он отобрал несколько наиболее интересных, на его взгляд, вариантов их исполнения, которые мы и представляем вниманию читателей.
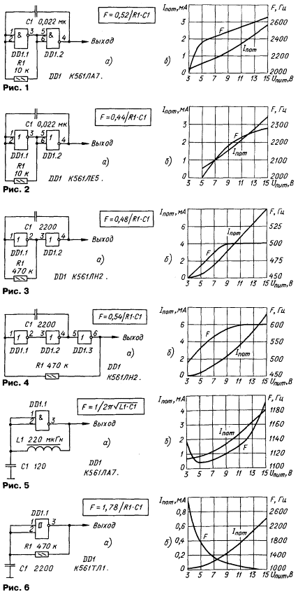
В предлагаемой статье кратко описаны несколько схемных решений генератора прямоугольных импульсов, по строенного на различных микросхемах серии К561. По своей структуре статья - сравнительно-справочная. К каждой схеме дан перечень параметров и особенностей (см. таблицу), а также графические зависимости потребляемого тока и генерируемой частоты от напряжения питания.
Кроме этого, для каждого генератора указана формула, позволяющая вычислять значение генерируемой частоты в зависимости от номиналов элементов частотозадающей цепи (частота - в герцах, сопротивление - в омах, емкость - в фарадах, индуктивность - в генри; более удобно, кстати, для RC-генераторов: частота - в килогерцах, сопротивление - в килоомах, емкость - в микрофарадах; для LC-генераторов: частота - в мегагерцах, емкость - в нанофарадах, индуктивность - в миллигенри). Расчетные формулы для ряда генераторов получены опытным путем.
Все представляемые в статье характеристики рассматриваемых генераторов получены в результате экспериментов с конкретными образцами микросхем. С другими экземплярами микросхем характеристики могут быть несколько отличными. Формулы для расчета частоты соответствуют напряжению питания 5 В и температуре окружающей среды 25'С. Нагрузочная способность генераторов такая же, как у элементов микросхем серии К561. Верхняя граница напряжения питания генераторов также определена применяемой серией микросхем и равна 15 В, а нижняя указана в таблице. Верхний предел сопротивления резисторов я установил из практических соображений на уровне 40 МОм.
В генераторах с емкостной положительной обратной связью амплитуда импульсов на входе элемента может превысить напряжение питания. В этих случаях открываются входные защитные диоды, и через них начинает протекать ток. Для ограничения этого тока во входную цепь приходится устанавливать резистор сопротивлением 1...150 кОм, как это указано в [1] и использовано в [2].
Все рассмотренные в этой статье генераторы имеют мягкое возбуждение. Иначе говоря, как бы медленно ни увеличивалось напряжение питания, генератор все равно заработает.
Генератор на элементах 2И-НЕ (рис. 1, а) стал уже классическим и известен по большому числу публикаций. Он сохраняет работоспособность при понижении напряжения питания Uпит до 2 В, при этом, правда, значительно уменьшается частота генерации.
Скважность импульсов близка к двум при любом напряжении питания. В результате разогревания корпуса микросхемы частота несколько уменьшается (на 4 % при 85'С).
Подобный генератор может быть выполнен и на двух логических элементах 2ИЛИ-НЕ (рис. 2,а), на двух инверторах (рис. 3,а), а также на трех инверторах (рис. 4,а). Подробности о работе и различиях генераторов на двух и трех инверторах можно узнать из [3]. Отметим, что у генератора на элементах 2ИЛИ-HЕ частота генерации практически не зависит от температуры корпуса микросхемы, а у генераторов на инверторах частота очень стабильна на участке Uпит = 9... 15 В.

Генератор по схеме на рис. Нижний предел сопротивления резистора R1,кОм Наибольшая частота генерации, МГц Минимальное напряжение питания, В Изменение частоты при нагревании до 85’С, % Скважность выходных импульсов
1,а 1 2 2 -4 2
2,а 1 2 4 - 2
3,а 0,56 2 2,5 -5 >2
4,а 0,56 2 2 +2,5 <2
5,а - 1,3 3   <2
6,а 1 1 1,4 -11 >2


С. ЕЛИМОВ, г. Чебоксары
На рис. 5,а показана схема простейшего LC-генератора с логическим элементом 2И-НЕ. LC-цепь сдвигает фазу выходного сигнала элемента на 180 град., в результате этого происходит самовозбуждение генератора. Такие генераторы хорошо работают на повышенных значениях частоты, мягко возбуждаются и отличаются высокой температурной стабильностью [3].
При увеличении частоты сверх 1,3 МГц амплитуда выходных импульсов начинает падать.
В генераторе могут также работать элементы 2ИЛИ-НЕ, причем в этом случае он вырабатывает не прямоугольные импульсы, а колебания, по форме близкие к синусоидальным.
Для устойчивой работы генератора волновое сопротивление LC-контура p=VL/C не должно быть менее 2 кОм. Частота генерации практически совпадает с резонансной частотой LC-контура. Достоинство генератора - высокая температурная стабильность частоты.
Подобные по структуре генераторы можно выполнить на одном элементе - триггере Шмитта (рис. 6,а). При напряжении питания, близком к максимальному, они весьма стабильны по частоте. Кроме того, они исключительно экономичны - при напряжении питания менее 6 В потребляют ток всего в несколько десятков микроампер.
ЛИТЕРАТУРА
1. Бирюков С. А. Цифровые устройства на МОП-интегральных микросхемах, вып. 1132, с. 60-65; вып. 1220, с. 105-111. - М.: Радио и связь, 1990; 1996 (МРБ).
2. Нечаев И. Пробник логический без источника питания. - Радио, 1990, N 10, с. 83,84.
3. Бирюков С. Генераторы и формирователи импульсов на микросхемах КМОП. - Радио, 1995, N 7,с.36,37.
4. Киверин Н. LC-генератор на логических элементах. - Радио, 1990, N 7, с. 55.
Обсудить эту статью на форуме (0 ответов).
Вся информация, предоставленная на данном ресурсе разрешена к ознакомлению детям школьного возраста. Все практическое использование может быть связана с повышенной электрической опасностью и разрешено детям только под присмотром взрослых.