Регенерация гальванических элементов

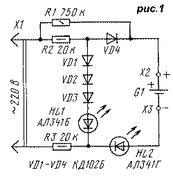
Гальванические элементы, предназначаемые для питания электронных часов и калькуляторов (так называемые "таблеточные"), уже не являются дифицитом. Но все же порой возникает проблема продления срока их службы или восстановления работоспособности. схемаИменно на такие случаи и рассчитано описываемое здесь устройство. Схема зарядного устройства приведена на рис.1. Работает оно по известному принципу - зарядка восстанавливаемого гальванического элемента асимментричным током. Зарядный ток элемента G1, подключенного к контактам X2 и X3, протекает через диод VD4. Среднее значение этого тока определяется в основном номиналами резисторов R2, R3 и в нашем случае не превышает 2.5...3 мА. А разрядный ток элемента, текущий через резистор R1 и открывшийся в обратном направлении светодиод HL2, равен примерно 0.15 мА.Индикаторами состояния восстанавливаемого элемента служат светодиоды HL1 и HL2, ограничителями степени его зарядки - диоды VD1-VD3.

  Зарядка элемента происходит во время положительного полупериода сетевого напряжения. Если елемент сильно разряжен, то напряжение на нем не превышает, как правило, 1 В. Поэтому напряжение на последовательно включенных диоде VD7 (0.7 В), светодиоде HL2 (2 В) и элементе G1 будет 3.7...4 В. В то же время суммарное напряжение на последовательно соединенных диодах VD1, VD2, VD3 (по 0.7 В) и светодиоде HL1 (2 В) составит примерно 4.1 В. Это означает, что ток в этом случае станет протекать (в основном) через элемент, и светодиод HL2 будет светиться значительно ярче, чем светодиод HL1. А поскольку они разного цвета свечения, то легко определить, в каком состоянии находится элемент. В данном случае ярче должен светиться светодиод HL2 - зеленый.

  По мере восстановления элемента напряжение на нем станет повышаться, а это значит, что теперь большая часть тока потечет через светодиод HL1, его яркость свечения начнет возрастать, а яркость светодиода HL2, напротив, ослабевать. К концу цикла регенерации элемента яркость красного светодиода возрастает, а зеленый будет светиться еле-еле. В принципе, длительность цикла восстановления работоспособности элемента может быть и сколь угодно большой - опасаться выхода элемента из строя не стоит, так как зарядный ток, текущий через него, мал.

  Конструируя такое устройство, основное внимание следует уделить безопасности - ведь восстанавливаемый элемент гальванически связан с сетью. Возможная конструкция и монтаж деталей предлагаемого устройства для регенерации элементов питания электронных часов показаны на рис. 2. Его цилиндрическим корпусом, защищающим пользователя от поражения напряжением сети или разрушения элемента (редко, но случается!), служит пластмассовый контейнер из-под лекарства с внутренним диаметром 20 и глубиной 48 мм. Подойдет, конечно, другой подходящий по размерам корпус, но обязательно из изоляционного материала, например, контейнер из-под фотопленки. В таком случае надо будет соответсвенно скорректировать размеры печатной платы и вставки с контактами для регенерируемого элемента.

  конструкцияПечатная плата выполнена из двустороннего фольгированного стеклотекстолита толщиной 2 мм. Она должна плотно входить в корпус и надежно задерживаться в нем. В донной части корпуса делается отверстие для сетевого провода, длина которого всего несколько сантиметров. Так сделано специально, чтобы было удобно устанавливать элемент в устройство, когда вилка провода (X1) вставлена в розетку сети. В боковой стенке корпуса, в соотвествии с расположением светодиодов, просверливают два смотровых "окна" диаметром 4 мм.

  Основой контактов X2 и X3, фиксирующих восстанавливаемый элемент, служит вставка диаметром 20 мм из одностороннего фольгированного стеклотекстолита толщиной 2 мм. В ней выпилено овальное отверстие размерами 9x13 мм и просверлено отверстие диаметром 2 мм для винта (или заклепки) пружинящего контакта X2. Функцию контакта выполняет пластинка диаметров 20 мм из луженой фольги или жести, припаянная к фольгированной стороне вставки. Этой пластиной вставка припаяна к токонесущей площадке на печатной плате, с которой соединен анодный вывод светодиода HL2. Так образован минусовый контакт для восстанавливаемого элемента. Плюсовой контакт (X2), вырезанный из латуни, должен с небольшим усилием вращаться вокруг винта (или заклепки), а с фольгированной стороны соединен с катодным выводом светодиода VD4. Восстанавливаемый элемент вставляют в овальное отверстие вставки минусовой стороной вниз (в середину или ближе к краю) в зависимости от его габаритов и прижимают пружинным контактом. Затем корпус закрывают пластмассовой крышкой, после чего устройство можно подключать к сети.

Обсудить эту статью на форуме (0 ответов).
Вся информация, предоставленная на данном ресурсе разрешена к ознакомлению детям школьного возраста. Все практическое использование может быть связана с повышенной электрической опасностью и разрешено детям только под присмотром взрослых.