
Преобразователь напряжения, предложенный И. Нечаевым, бесспорно, интересен с точки зрения простоты и универсальности. Но используемая в нем частота преобразования - 25 "Гц. Смогут ли на такой частоте работать обычные бытовые приборы, ведь большинство из них рассчитаны на переменное напряжение частотой 50 Гц. Эта проблема особенно актуальна для владельцев пока еще неэлектрифицированных садовых домиков, гаражей, где единственным источником электроэнергии может быть аккумуляторная батарея автомобиля.
Для решения этой проблемы и был разработан преобразователь (см. схему), позволяющий питать от аккумуляторной батареи многие бытовые электроприборы мощностью до 100 Вт.
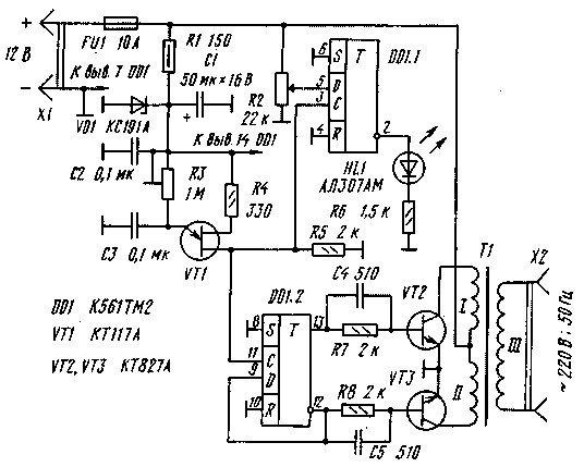
Задающий генератор преобразователя собран на однопереходном транзисторе VT1, резисторах R3-R5 и конденсаторе СЗ. Частоту генерируемых им импульсов, равную 100 Гц, D-триггер DD1.2 делит на 2. При этом на выходах триггера формируются взаимно инверсные импульсы, следующие с частотой 50 Гц. Они управляют ключевыми транзисторами VT2 и VT3 , включенными по схеме двухтактного усилителя мощности. Нагрузкой транзисторов этого каскада служит трансформатор Т1, повышающий импульсное напряжение стабилизатора до 220 В.
Напряжение питания на коллекторы транзисторов выходного каскада преобразователя подают через соответствующие им половины первичной обмотки трансформатора Т1, а на задающий генератор и микросхему DD1 - через параметрический стабилизатор напряжения R1VD1. Вместе с конденсатором С1 стабилизатор исключает влияние ключевых транзисторов на работу других элементов устройства.
Конденсаторы С4 и С5 ускоряют процесс коммутации ключевых транзисторов, тем самым облегчая режим их работы.
Триггер DD1.1, вход D которого подключен (через резистор R2) к плюсовому проводнику источника питания, а вход С - к выходу задающего генератора, служит для контроля за напряжением аккумуляторной батареи и сигнализации о ее разрядке до уровня, установленного резистором R2.
Суть работы этого узла устройства заключается в следующем. При полностью заряженной батарее на D-входе триггера DD1.1 напряжение выше порога переключения, на инверсном выходе - логический 0, поэтому светодиод HL1 не горит. Как только напряжение батареи окажется меньше допустимого, этот триггер по фронту импульса задающего генератора на входе С переключится в нулевое состояние и загорится светодиод HL1, сигнализируя о недопустимом режиме работы батареи.
Монтаж преобразователя произвольный. Резистор R1 - МЛТ-0,5, другие постоянные резисторы- МЛТ-0,125. Переменный резистор R2 - СП-1, подстроеч-ный R3 - СПЗ-16 или любые другие аналогичные. Конденсатор С1 - оксидный К53-1; конденсаторы С2 - С5 - КМ-5. Конденсатор С2 следует установить непосредственно на выводах питания микросхемы.
Стабилитрон КС191А (VD1) заменим любым другим на напряжение стабилизации 8...9 В. Транзисторы VT2 и VT3 - любые из серии КТ827, с возможно большим статическим коэффициентом передачи тока базы, их устанавливают на теплоотводах с площадью поверхности не менее 300 см2.
Трансформатор Т1 выполнен на магнитопроводе ПЛМ 27-40-58. Обмотки I и II содержат по 15 витков провода ПБД-2 или ПСД-2, обмотка III - 704 витка провода ПЭВ-2 0,64.
Приступая к налаживанию устройства, плюсовой проводник источника питания отключают от точки соединения обмоток I и II трансформатора Т1 и, пользуясь осциллографом, проверяют частоту и амплитуду импульсов на базах транзисторов VT2, VT3. Амплитуда импульсов должна быть около 2 В, а их частоту следования, равную 50 Гц, устанавливают резистором R3.
Затем настраивают узел контроля напряжения, собранный на триггере DD1.1. Для этого напряжение источника питания снижают до 10...10,5 В и резистором R2 добиваются непрерывного свечения светодиода HL1. Далее восстанавливают соединение плюсового проводника источника питания со средней точкой первичной обмотки выходного трансформатора и проверяют работу преобразователя при полностью заряженной аккумуляторной батарее.
Описанный преобразователь испытан при совместной работе с различными нагрузками мощностью 80...100 В. В частности, использовался для питания малогабаритного сверлильного станка, погружного насоса водокачки на садовом участке. При этом напряжение на выходе преобразователя не снижалось более чем до 210 В, а потребляемый им ток не превышал 10 А. Потребляемый ток на холостом ходу - не более 1 А.
Преобразователь пригоден и для питания бытовой звуковоспроизводящей аппаратуры, если дополнить его фильтром, сглаживающим прямоугольность импульсов выходного напряжения.