Защита бытовой радиоаппаратуры от "скачков" и резких отклонений сетевого напряжения от нормы для многих районов нашей страны остается проблемой с непредсказуемыми последствиями. Автор статьи анализирует ситуацию и делится личным опытом практического решения этой проблемы. Предлагаемое устройство защищает радиоаппаратуру быстрым отключением от питающей сети при изменении ее напряжения более допустимых пределов. Оно актуально, прежде всего, вблизи воздушных линий электропередачи, где вероятность замыканий проводов, например, при сильных порывах ветра, велика. Особенно опасно замыкание одного из фазных проводов на "нулевой". При этом напряжение в сети повышается до 380 В. Обычно в таких случаях происходит разрыв оксидных конденсаторов блока питания и вытекание электролита, что пагубно сказывается на работе того или иного радиоаппарата.
Снижение же напряжения сети до 160 В также опасно, в частности для импульсных блоков питания. В таких случаях они работают при длительных токовых нагрузках через силовой транзистор, что может стать причиной выхода его из строя из-за перегрева. Решать описанные проблемы мне помогает полуавтомат, схема которого приведена на рис. 1. От подобного устройства, описанного в статье И. Нечаева "Автомат защиты сетевой аппаратуры от "скачков" напряжения" ("Радио", 1996, ╧ 10, с. 48,49), он отличается в основном лишь тем, что при "скачках" напряжения отключает нагрузку от сети, и повторное его включение возможно только после нажатия на пусковую кнопку SB1. В ранее же описанном автомате при "гуляний" напряжения сети нагрузка питается прерывисто - а это очень не благоприятный режим работы для любой радиоаппаратуры, в особенности ПЭВМ и телевизоров.
Основой предлагаемого полуавтомата служит мощное электромагнитное реле К1. Для питания его обмотки постоянным током применен выпрямительный MOCTVD1-VD4, подключенный к сети через гасящие конденсаторы С1 и С2. Включают устройство кратковременным нажатием на кнопку SB1. При этом реле К1 срабатывает и его замыкающиеся контакты К 1.1 блокируют контакты пусковой кнопки. Конденсатор С1 обеспечивает необходимый пусковой ток реле при включении. В рабочем режиме реле удерживается током, текущим через конденсатор С2, до напряжения сети не ниже 160 В. При налаживании устройства емкость конденсатора С2 (а иногда и конденсатора С1) приходится подбирать для каждого типа реле индивидуально. При повышении напряжения сети до 240 В открываются стабилитроны VD7 и VD8. Одновременно срабатывает оп-трон U1 и открывается тринистор VS1 .блокирует цепь питания обмотки реле К1. В результате реле отпускает и его размыкающиеся контакты К1.1 отключают нагрузку устройства от питающей сети переменного тока.
Конденсатор СЗ, шунтирующий резистор R3 в цепи управления тринистором VS1, предотвращает срабатывание защиты от импульсных помех. Резисторы R1, R2 ограничивают броски тока через контакты пусковой кнопки SB1, одновременно являясь "предохранителями" в случае пробоя конденсатора С1 или С2. Диод VD5 улучшает быстродействие устройства, которое определяется в основном типом примененного реле и составляет доли секунды. Время отпускания реле РЭНЗЗ, использованного в описываемом устройстве, не превышает 4 мс, чего вполне достаточно для надежного срабатывания защиты. Резистор R5 ограничивает ток, текущий через светодиод оптрона U1. Подбором его (в пределах 8...25 кОм) можно регулировать в небольших значениях (5... 10 В) порог срабатывания защиты по превышению входного напряжения.
Конструктивно полуавтомат выполнен в виде переносного удлинителя. На его лицевой стенке-крышке установлены сетевая розетка Х2, кнопочный выключатель SB1 (КМ2-1 или П2Кбез фиксации) и индикатор VL1. Электромагнитное реле (РЭНЗЗ), тринистор VS1 и все другие детали смонтированы на печатной плате из одностороннего фольги-рованного материала, которая размещена в пластмассовом корпусе. Реле К1 может быть любого типа, на рабочее напряжение 12...60 В, а его контакты рассчитаны на ток не менее 2...3 А при напряжении сети 220 В. При этом соответственно должно быть и номинальное напряжение конденсатора С4. Конденсаторы С1 и С2 - К73, МБМ, МБГО на номинальное напряжение не менее 350 В (С2 лучше на 400 В). Стабилитроны VD7 и VD8 заменимы на аналогичные, суммарное напряжение стабилизации которых может быть от 310 до 340 В при токе 10... 12 мА. При меньшем суммарном напряжении стабилизации этих приборов (250...300 В) резистор R5 должен быть сопротивлением 30...47 кОм и большей рассеиваемой мощности. В этом случае появится возможность увеличения нестабильности порога срабатывания защиты. Диодный оптрон АОД101А (U1) допустимо заменить транзисторным серии АОТ110 или АОТ127, соединив резистор R4 с эмиттером фототранзистора, анод тринистора VS1 - с выводом его коллектора, а между базой и эмиттером установить резистор сопротивлением 1 МОм. При этом и тринистор может быть с большим током управления, например, серии КУ201 или КУ202.
Налаживание устройства сводится в основном к подбору конденсаторов С2 и С1. Подбирая первый из них, добиваются отключения устройства при снижении напряжения сети до 160...170 В, а второй - надежного включения пусковой кнопкой SB1. Не исключен и подбор резистора R5 - для обеспечения надежного срабатывания системы защиты при напряжении сети, превышающим 240...250 В. При этом не следует забывать о мерах электробезопасности - ведь все элементы устройства гальванически связаны с электросетью повышенной опасности.
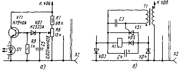
В заключение несколько практических советов, связанных с возможными изменениями в самом устройстве защиты. Если возникнут трудности с подбором высоковольтных стабилитронов VD7 и VD8, то возможно применение одного стабилитрона КС533А с дополнительным транзистором КТ940А, как показано на рис. 2,а. Переменным резистором R8 устанавливают напряжение порога срабатывания системы защиты. Однако ее надежность при этом несколько снизится, так как транзистор VT1 может "уходить на обрыв" и устройство не отключит нагрузку в случае превышения входного переменного напряжения. Стабилитроны же, как правило, выходят из строя на "замыкание", и это приводит лишь к отключению нагрузки. Устройство удастся упростить, если заменить тринистор VS1 и оптрон U1 оп-тотиристором соответствующей мощности - с выходным импульсным током не менее 1 А, например, серии АОУ160. Полуавтомат с таким оптроном должен надежно блокировать по питанию обмотку реле К1 быстрой разрядкой конденсатора С4. Наиболее распространенный оптрон серии АОУ103 выдерживает импульсный ток значением до 0,5 А, которого может оказаться недостаточно для надежной работы устройства. Вообще же оптрон можно заменить маломощным импульсным трансформатором. Подойдет, например, согласующий трансформатор усилителя 34 переносного транзисторного радиоприемника или аналогичный, обмотки которого содержат по 150...300 витков провода ПЭВ-2 0,15...0,3. Обмотку с меньшим числом витков подключают к цепи управления тринистором VS1 (рис. 3,6), а обмотку с большим числом витков - вместо излучающего диода оптрона U1. Резисторы R3 и R4 в этом случае из устройства удаляют. Длительная эксплуатация нескольких полуавтоматов, в том числе с внесенными изменениями, показала их надежную работу.
От редакции. Для надежной работы устройства в качестве SB 1 следует установить кнопку, рассчитанную на полный пусковой ток защищаемого устройства. В цепь анода тиристора VS1 желательно установить ограничительный резистор сопротивлением порядка 10 Ом, он предохранит тиристор от возможного пробоя разрядным током конденсатора С4.