
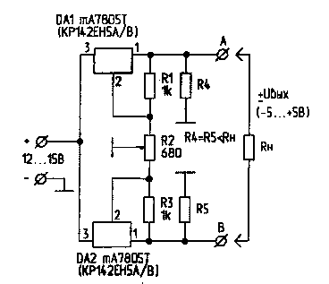
Для настройки радиоэлектронной аппаратуры, питания реверсивных электродвигателей, электромагнитов необходимы источники питания с инверсией напряжения. На рисунке приведена схема простого источника питания, позволяющего плавно изменять напряжение на нагрузке от +Uвых до -Uвых.
Источник питания выполнен на основе двух регулируемых стабилизаторов напряжения DA1, DA2 типа mA7805 (LM7805) или их аналога - КР142ЕН5А(В). Регулировка выходного напряжения стабилизаторов взаимозависима и осуществляется потенциометром R2. Так, при изменении величины R2 напряжение на резисторе R4 изменяется от 5 до 10 В; одновременно напряжение на резисторе R5 изменяется от 10 до 5 В. Таким образом, выходное напряжение на зажимах АВ плавно регулируется от +5 до -5 В.
Наладка устройства заключается в подборе резисторов R1 (Р3)до получения на резисторах R4 и R5 при регулировке R2 (при отключенной на требуемых пределов изменения напряжения относительно общей шины - 5...10 В и 10...5 В соответственно.
Минимальное значение сопротивления нагрузки определяется соотношением Rнагр<R4=R5 и может доходить до 10 Ом. При этом ток на выводах 1 микросхем, установленных на радиаторы, может достигать 1,5 А, а резисторы R4, R5 должны иметь мощность рассеивания не менее 10 Вт. Поскольку КПД источника питания невысок (11...14%), а также из соображений снижения мощности, рассеиваемой на резисторах R4, R5, желательно использовать более высокоомную нагрузку. Так, при Rнагр>100 Ом (R4=R5=100 Ом), мощность рассеивания резисторов - 1 Вт, а максимальный ток нагрузки составляет 50 мА (при Rнагр>10 Ом предельный ток в нагрузке ограничен значением 500 мА).
При снижении Rнагр ниже минимального значения (вплоть до короткого замыкания) Uвых снижается. Повреждения интегральных микросхем при этом не происходит.
Схема может быть легко переделана на более высокое выходное напряжение при использовании интегральных микросхем серий mA7806, mA7809 и т.д. либо их аналогов серии КР142ЕН5, 8, 9. При выполнении потенциометра R2 на кольцевом замкнутом сердечнике с диаметрально подведенными контактами и подключении к оси потенциометра через редуктор электродвигателя, на выходе устройства можно получить медленно меняющееся напряжение синусоидальной или иной формы.