Стабилизированный источник питания

Для налаживания и испытания различных устройств, собранных на микросхемах и транзисторах, требуется источник питания с широким диапазоном регулирования выходного напряжения при значительно изменяющихся токах нагрузки.

 

 

Основные параметры
Сетевое напряжение, В
220╠15%
Коэффициент стабилизации
100
Пределы регулирования выходного напряжения, В
0...27
Ток нагрузки, А
0,5
Двойная амплитуда напряжений пульсаций, мВ
1,0
Выходное сопротивление, Ом
0,05
Максимальный ток нагрузки, А
0,6

Такой источник питания снабжен защитой от перегрузки.

 

 

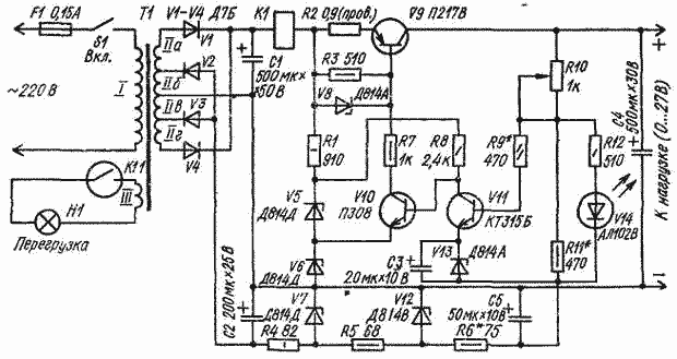
Выходное напряжение стабилизировано. В качестве трансформатора Т1 использован переделанный трансформатор кадровой развертки от телевизора "Старт-3". Вторичная обмотка удалена, а вместо нее намотана другая. Секции IIа и IIг содержат по 215 витков провода ПЭВ-2 - 0,38, a IIб и IIв - по 200 витков того же провода. Обмотка III состоит из 28 витков провода ПЭВ-2 - 0,31. Трансформатор Т1 можно изготовить самостоятельно. Магнитопровод Ш-образный с сечением среднего стержня 4 см2 (Ш 20 X 20). Первичная обмотка состоит из 2600 витков провода ПЭВ-2 - 0,16. Данные остальных обмоток можно оставить без изменения.

Переменный резистор R10 должен иметь мощность рассеяния не менее 1 Вт (СПО-1), Герконовое реле К1 выполнено на герконе КМ-2, катушка его намотана проводом ПЭВ-2 - 0,51 в один слой на бумажной гильзе диаметром 4 и длиной 21 мм. Лампа HI - типа МН14 (2,5 В; 0,16 А) служит индикатором перегрузки. Герконовое реле, лампу HI и обмотку III трансформатора Т1 можно не использовать, если вместо стабилитрона V8 включить светодиод АЛ307 с любым буквенным индексом. Сопротивление резистора R2 в этом случае должно быть равно 2,2 Ом. Свечение светодиода будет свидетельствовать о перегрузке стабилизатора.

Транзисторы V10 и V11 должны иметь статический коэффициент передачи тока h21э > 50. Транзистор V9 следует установить на радиаторе площадью не менее 300 см2.

Налаживание стабилизатора начинают с того, что вместо резистора R11 включают переменный резистор сопротивлением 1 кОм и устанавливают его движок на максимальное сопротивление. Движок резистора R10 должен находиться в нижнем (по схеме) положении. Включают стабилизатор и, вращая движок переменного резистора, установленного вместо резистора R11*, устанавливают выходное напряжение 27 В. После этого измеряют сопротивление действующей части переменного резистора и вместо него включают резистор R11* с постоянным сопротивлением, равным измеренному.

Далее подбирают сопротивление резистора R2, подключая к выходу вместо нагрузки амперметр постоянного тока со шкалой на 1 А. Отматывая витки провода резистора R2, устанавливают по амперметру ток 0,6 А. Резистор R6* подбирают так, чтобы в верхнем по схеме положении движка резистора R10 выходное напряжение было равно нулю. Подбирая число витков обмотки герконового реле К1 и перемещая геркон внутри катушки, устанавливают требуемый ток срабатывания этого реле. Выходное сопротивление оценивают, измеряя разность напряжений холостого хода и напряжения при максимальной нагрузке.

Обсудить эту статью на форуме (0 ответов).
Вся информация, предоставленная на данном ресурсе разрешена к ознакомлению детям школьного возраста. Все практическое использование может быть связана с повышенной электрической опасностью и разрешено детям только под присмотром взрослых.