Это устройство предназначено для защиты цепей постоянного тока от перегрузки по току и замыканий цепи нагрузки. Его включают между источником питания и нагрузкой.
редохранитель выполнен в виде двухполюсника и может работать совместно с блоком питания с регулируемым выходным напряжением в пределах 3...35 В. Максимальное полное падение напряжения на предохранителе не превышает 1,9 В при максимальном токе нагрузки. Ток срабатывания защитного устройства можно плавно регулировать в пределах от 0,1 до 1,5 А независимо от напряжения на нагрузке. Электронный предохранитель обладает хорошими термостабильностью и быстродействием (3... 5 мкс), надежен в работе.
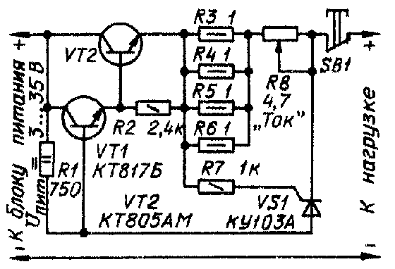
Принципиальная электрическая схема электронного предохранителя показана на рис.1. В рабочем режиме тринистор VS1 закрыт, а электронный ключ на транзисторах VT1, VT2 открыт током, протекающим через резистор R1 в базу транзистора VT1. При этом ток нагрузки протекает через электронный ключ, набор резисторов R3- R6, переменный резистор R8 и контакты кнопки SB1.
При перегрузке падение напряжения на цепи резисторов R3-R6, R8 достигает значения, достаточного для открывания
ринистора VS1 по цепи управляющего электрода. Открывшийся тринистор замыкает цепь базы транзистора VT1, что приводит к закрыванию электронного ключа. Ток в цепи нагрузки резко уменьшается; остается незначительный остаточный ток, равный Iост=Uпит/R1. При Uпит=9 В Iост=12 мА, а при 35 В - 47 мА.
Для того чтобы восстановить рабочий режим после устранения причины перегрузки, нужно на короткое время нажать на кнопку SB1 и отпустить. При этом тринистор закроется, а транзисторы VT1 и VT2 вновь откроются.
Остаточный ток можно уменьшить, увеличив в 1,5...2,5 раза сопротивление резистора R1 и использовав транзисторы VT1 и VT2 с большим статическим коэффициентом передачи тока. Однако чрезмерное увеличение сопротивления резистора 1 ведет к увеличению падения напряжения на транзисторе VT2, т. е. увеличению падения напряжения на предохранителе в рабочем режиме.
Остаточный ток можно существенно уменьшить (до 2...4 мА) при любом напряжении питания, использовав для смещения транзистора VT1 источник тока на полевом транзисторе КП303А или КП303Б с начальным током стока 1…2,5 мА. При этом резистор R1 исключается. Затвор и исток полевого транзистора нужно соединить вместе и подключить к базе транзистора VT1, а сток - к его коллектору. Следует иметь в виду, что в этом случае устройство работоспособно в цепях с напряжением не более 25 В.
На рис.2 показана зависимость тока срабатывания предохранителя от сопротивления резистора R8. Вид этой характеристики сильно зависит от напряжения открывания тринистора.
Следует иметь в виду, что при напряжении питания, имеющем значительные пульсации, электронный предохранитель срабатывает на пиках напряжения, поэтому средний ток через нагрузку будет несколько ниже, чем при использовании хорошо сглаженного напряжения.
Ток срабатывания предохранителя можно определить из выражения: Iсраб=UоткрVS1/(Rэкв+R8), где UоткрVS1- напряжение открывания тринистора, а Rэкв - эквивалентное сопротивление цепи резисторов R3- R6. Как показывает график на рис.2, регулирование тока срабатывания резистором R8 в зоне предельных значений довольно грубое, поэтому целесообразно либо сократить пределы регулирования уменьшением сопротивления резистора R8 в 1,5...2 раза, либо ввести многоступенчатое регулирование переключателем с набором точно подобранных резисторов.
Предохранитель смонтирован на печатной плате из стеклотекстолита толщиной 1,5 мм (рис.3). На плате размещены все детали, кроме транзистора VT2, резистора R8 и кнопки SB1. Транзистор VT2 необходимо установить на небольшой теплоотвод, например, на дюралюминиевую пластину размерами 90х35х2 мм с отогнутыми краями.
В устройстве можно применить транзисторы и в металлическом корпусе, потребуется лишь изменить конструкцию и размеры теплоотвода. Транзистор КТ817Б можно заменить на КТ815Б-КТ815Г, КТ817В, КТ817Г, КТ801А, КТ801Б, а КТ805АМ - на КТ802А, КТ805А, КТ805Б, КТ808А, КТ819Б-КТ819Г. Статический коэффициент передачи тока транзисторов должен быть не менее 45. Постоянные резисторы - МЛТ, МТ и МОН; переменный резистор - любой проволочный; кнопка SB1 - П2К без фиксатора.
В предохранителе лучше использовать тринисторы КУ103А с напряжением открывания 0,4...0,6 В.
Собранный предохранитель налаживания, как правило, не требует. В некоторых случаях требуется подобрать сопротивление Rэкв добавлением еще одного резистора для установки максимального тока срабатывания. На плате предусмотрено место для четырех резисторов R3-R6.
Несложно рассчитать предохранитель и на больший ток срабатывания (до 3...5 А). Для этого потребуются более мощные транзисторы.