Питающее устройство

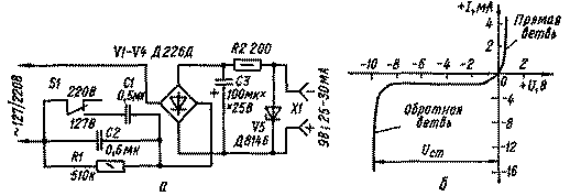
Питающее устройство представляет собой сочетание двухполупериодного выпрямителя и параметрического стабилизатора напряжения на стабилитроне.
Выходное напряжение устройства 9 В при токе 25-30 мА. Гасящие конденсаторы С1 и С2 определяют величину тока, потребляемого устройством от сети. Конденсатор СЗ служит фильтром для сглаживания пульсаций), а резистор R2 и стабилитрон V5 образуют параметрический стабилизатор напряжения.
Детали. Диоды типа Д226; стабилитрон Д814Б или Д809; конденсаторы С1, С2 типов КБГ, БМТ.

Обсудить эту статью на форуме (0 ответов).
Вся информация, предоставленная на данном ресурсе разрешена к ознакомлению детям школьного возраста. Все практическое использование может быть связана с повышенной электрической опасностью и разрешено детям только под присмотром взрослых.