Мощный стабилизированный преобразователь напряжения предназначен для питания различных устройств, рассчитанных на сетевое напряжение, от аккумуляторных батарей.
| Напряжение питания постоянным током, В | 24 |
| Выходное синусоидальное напряжение, В | 220 |
| Частота выходного напряжения, Гц | 50 |
| Максимальная выходная мощность, Вт | 90 |
| КПД, %, не менее | 70 |
| Нагрузочная нестабильность частоты, Гц/Вт | 0,003 |
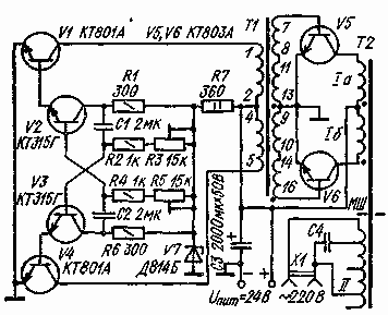
Схема преобразователя содержит задающий генератор, вырабатывающий прямоугольные импульсы, и усилитель мощности на базе феррорезонансного стабилизатора. Магнитопровод трансформатора Т2 разделен магнитным шунтом МШ. Первичная обмотка расположена на ненасыщаемой части магнитопровода, вторичная - на той части, которая входит в насыщение. За счет этого и наличия высокодобротного колебательного контура, образованного частью обмотки II и конденсатором С4, при прямоугольных импульсах со вторичной обмотки снимают синусоидальное напряжение. Транзисторы V5, V6 установлены на радиаторах, рассчитанных на мощность рассеяния не менее 5 Вт. Согласующий трансформатор Т1 - накальный ТН 36 127/220-50. Вместо него можно использовать сетевой трансформатор от радиолы "Рига-101" или "Рига-102". В этом случае роль первичной обмотки выполняют две его обмотки на 127 В, соединенные последовательно. Этот трансформатор можно изготовить самостоятельно, намотав на магнитопроводе Ш16 X 24 первичную обмотку из 2 X 700 витков провода ПЭВ-1 - 0,2 и вторичную из 2 X 95 витков провода ПЭВ-1 - 0,59. Трансформатор Т2 с магнитным шунтом - готовый от стабилизатора напряжения С-0,09. Сетевую обмотку стабилизатора удаляют и на ее место наматывают обмотку I - 2 X 75 витков провода ПЭВ-2 диаметром 2,44 мм. Компенсационную обмотку не используют, нужно только тщательно изолировать ее выводы. Конденсатор С4 подключают к выводам выходной обмотки (на схеме показаны не все выводы). Устройство можно питать и напряжением 12 В, однако при этом мощность нагрузки не должна превышать 40 Вт. В этом случае сопротивление резистора R7 равно 51 Ом. Трансфоратор Т1 - выходной трансформатор от приемника "ВЭФ-12", "Спидола", "ВЭФ-202" или от магнитофона "Комета-206". Вторичную обмотку, выполненную в два провода, разделяют и включают последовательно. Обмотка I трансформатора Т2 должна содержать 2 X 34 витка провода ПЭВ-2 2,44