Один из наиболее важных показателей радиоэлектронной аппаратуры с автономным питанием - экономичность входящих в ее состав узлов. В микромощных стабилизаторах напряжения, описанных ниже источник образцового напряжения выполнен не на стабилитроне, минимальный рабочий ток которого равен нескольким миллиамперам, а на полевом транзисторе с p-n переходом. Образцовым в этом случае будет напряжение отсечки транзистора. Подобное схемное решение позволило снизить потребляемый стабилизатором ток примерно до 100 мкА. Приняв дополнительные меры по обеспечению термостабильности выходного напряжения, такие стабилизаторы можно использовать в качестве источников образцового напряжения (ИОН) весьма высокой точности.
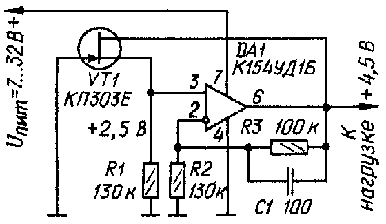
Первый вариант стабилизатора напряжения собран на частотно-скорректированном операционном усилителе К154УД1Б (рис.1), обладающем большим коэффициентом усиления по напряжению (Ku>=2*105) и малым потребляемым током (Iп<= 1,2*10-4). Несмотря на простоту схемы, стабилизатор обладает высокими техническими характеристиками:
Потребляемый ток, А . . . 10-4
Коэффициент стабилизации, не менее . . . 4*104
Выходное сопротивление, Ом, не более . . . 10-3
Максимальный ток нагрузки, A . . . 10-2
Температурный коэффициент выходного
напряжения, 1/°С, не более . . . 5*10-4
Напряжение смешения полевого транзистора VT1, являющееся в стабилизаторе образцовым, формируется на резисторе R1. ОУ DA1 включен по схеме неинвертирующего усилителя, коэффициент усиления которого задан делителем R2R3, включенным в цепь отрицательной обратной связи. Так как на иеинвертирующий вход ОУ DA1 подано образцовое напряжение Uобр, то на его выходе будет Uвых = (R3/R2+1)*Uобр.
Сток полевого транзистора VT1 подключен к выходу стабилизатора, поэтому образцовое напряжение поддерживается с очень высокой точностью. Испытания показали, что при увеличении питающего напряжения от 6,7 В до 32 В изменение выходного напряжения не удается зарегистрировать пятиразрядным цифровым вольтметром Щ68002 (с разрешающей способностью 0,1 мВ на пределе 10 В). Таким образом, нестабильность выходного напряжения в рассмотренном стабилизаторе обусловлена в основном качеством его пассивных элементов (резисторов) и температурной зависимостью образцового напряжения.
Эту зависимость можно свести практически к нулю ценой небольшого увеличения потребляемого тока. Дело в том, что для полевых транзисторов самых различных типов существует такое значение тока стока, при котором напряжение затвор-исток не зависит от температуры.
Кстати, известно, что это значение для транзисторов с p-каналом и напряжением отсечки 1...2 В лежит в пределах от 25 до 250 мкА. В действительности эти пределы, видимо, шире, чем принято считать. Так, для одного из экземпляров полевого транзистора, проверенного в рассмотренном стабилизаторе, оно оказалось равным 650 мкА.
Благодаря высоким техническим характеристикам, описанный стабилизатор напряжения целесообразно использовать и в аппаратуре с сетевым питанием. Входное напряжение не должно превышать 32 В. Для увеличения допустимого тока нагрузки ее надо подключать к выходу ОУ DA1 через эмиттерный повторитель на транзисторе соответствующей мощности. При токе, большем 1 А, скорее всего потребуется составной повторитель на двух транзисторах. Необходимое значение выходного напряжения устанавливают, подбирая резисторы R2, R3. Для обеспечения нормальной работы ОУ DA1 образцовое напряжение не должно быть менее 2 В, а выходное (на выводе 6) - не более (Uпит - 2) В.