Зарядное устройство для аккумуляторов

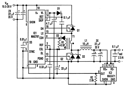
 Этот источник тока для заряда батарей способен выдать до 2,5 А при эффективности преобразования до 96%. Он может работать от сетевого адаптера или от автомобильной батареи. Устройство не влияет на сопротивление массы автомобильного электрооборудования, поскольку ток заряда измеряется в положительной шине. Зарядное устройство работает с аккумуляторными батареями, содержащими от 5 до 15 элементов; при этом его входное напряжение может составлять от 28 В до уровня, который всего на 1,5 В больше, чем напряжение на полюсах полностью заряженной батареи. Зарядный ток генерируется с помощью микросхемы IC1, контроллера стабилизированного понижающего импульсного преобразователя напряжения с токовым режимом работы, работающего с внешним силовым ключом (транзистор Q1) и синхронным выпрямителем (транзистор Q2). Оба МОП транзистора имеют каналы n-типа, и их малое сопротивление канала (существенно меньшее, чем у транзисторов с каналом р-типа) обеспечивает высокую эффективность преобразования схемы. В микросхеме предусмотрена цепь вольтодобавки для получения положительного напряжения, которое требуется для управления затвором транзистора Q1. Она также контролирует ток через транзистор Q1 (с помощью R1) и выключает его, если этот ток становится больше установленного предела.
Токовый трансформатор Т1 снижает потери мощности, подавая на резистор R1 лишь часть тока транзистора Q1. В положительную выходную шину включена микросхема IC2 - усилитель-датчик тока. На его выход ответвляется 1/2000 часть тока внутреннего шунта (от вывода RS+ к выводу RS-); при этом на резисторе R2 выделяется напряжение обратной связи для микросхемы IC1. Цифровое управление током заряда можно ввести, подключая вместо резистора R2 нужные резисторы с помощью МОП транзисторов типа 2N7002. Их сопротивление канала в 7,5 Ом мало влияет на параметры схемы, поскольку ток канала не превышает 1,25 мА, что соответствует погрешности установки выходного тока меньшей 0,5%. Эффективность преобразования схемы доходит до 96%. Эффективность и выходная мощности растут с увеличением выходного напряжения, поскольку потребление самой схемы (в основном за счет микросхемы IC1 и силовых МОП транзисторов) практически постоянно. Напряжение на выходе понижающего стабилизатора не может превысить VIN, поэтому защита от перегрузок не предусмотрена. Напряжение Vout, от которого питается микросхема IC2, не должно быть меньше 4 В.

Обсудить эту статью на форуме (0 ответов).
Вся информация, предоставленная на данном ресурсе разрешена к ознакомлению детям школьного возраста. Все практическое использование может быть связана с повышенной электрической опасностью и разрешено детям только под присмотром взрослых.