Блок питания усилителя ЗЧ на микросхемах и транзисторах

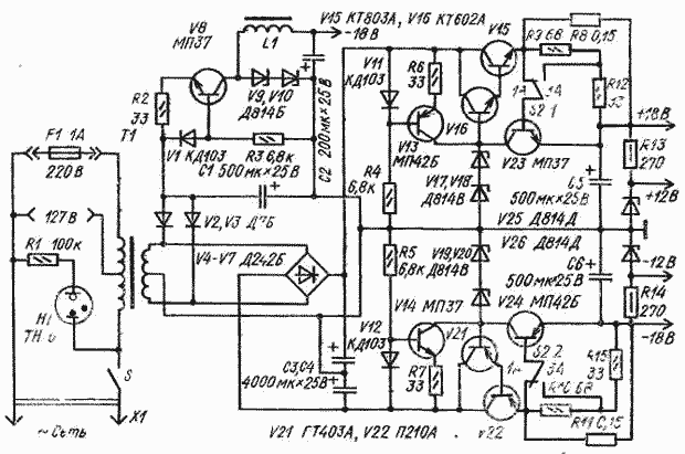
Блок питания двуполярный, с защитой от перегрузок по уровню выходного тока в 1 или 3 А.

Порог защиты изменяют переключателем S2. Напряжение ╠ 18 В используют для питания выходных каскадов усилителя; напряжение ╠ 12 В служит для питания ОУ типа К140УД1Б. Однополярный маломощный выпрямитель с простейшим стабилизатором используют для питания вспомогательных устройств усилителя (разделительные активные фильтры и др.).

Трансформатор питания выполнен на тороидальном магнитопроводе внешним диаметром 115 мм, внутреннем - 60 и высотой 40 мм. Его первичная обмотка содержит 880 витков провода ПЭЛ - 0,6 с отводом от 550-го витка, вторичная обмотка имеет 2 X 70 витков провода ПЭЛ - 1,5.

Дроссель L1 намотан на Ш-образном магнитопроводе площадью сечения 1 см2 проводом ПЭЛ - 0,1 и имеет 1000 витков. Дроссель можно намотатъ на другом сердечнике и другим проводом, но при этом сопротивление его обмотки постоянному току не должно превышать 100... 120 Ом, а индуктивность должна быть возможно большей.

Транзисторы V15 и V22 следует установить на радиаторе площадью 200-300 см2. Корпус транзистора следует изолировать от радиатора слюдяной прокладкой или слоем бумаги, пропитанной эпоксидной смолой.

Обсудить эту статью на форуме (0 ответов).
Вся информация, предоставленная на данном ресурсе разрешена к ознакомлению детям школьного возраста. Все практическое использование может быть связана с повышенной электрической опасностью и разрешено детям только под присмотром взрослых.