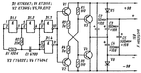
Схема бестрансформаторного преобразователя напряжения, предложенная Г. Кузнецовым, показана на рисунке. На цифровой микросхеме D1 собран экономичный задающий генератор прямоугольных импульсов частотой 10 кГц и амплитудой, практически равной напряжению питания (9 В). В течение одного полупериода транзисторы VI и V4 открыты, a V2 и V3 закрыты, конденсатор СЗ заряжается через насыщенный, транзистор V4 и диод V5 до напряжения, почти равного напряжению питания, В течение другого полупериода аналогично заряжается конденсатор С4 (через транзистор V3 и диод V6). На конденсаторе С5 происходит сложение этих напряжений, поэтому напряжение на выходе преобразователя приближается к удвоенному напряжению питания. Под нагрузкой при токе 120 мА напряжение падает до 16 В. При этом коэффициент пульсаций составляет 20 мВ, КПД около 85 %, а выходное сопротивление около 10 Ом. Детали. Транзисторы типов KT3I5 (VI) и КТ361 (V2) с h21э> 50; диоды Д312, Д310, Д311 или типа Д7. Микросхема К176ЛА7 или К176ЛЕ5.
Бестрансформаторный преобразователь напряжения
Doc
Просмотров: 9368