Переговорный автомат предназначен для проведения двусторонней громкоговорящей связи.
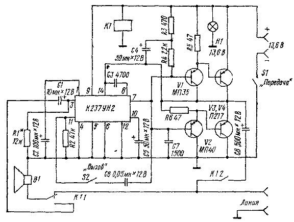
Выполнен переговорный автомат на одной микросхеме типа К237УН2 и четырех транзисторах V1 типа МП39≈МП42, V2 типа МП35≈ МП38, V3, V4 типа П213≈П217. В режиме приема автомат отключен от своего источника питания, а динамик через нормально замкнутые контакты K1.2 подключен к линии. У другого корреспондента, имеющего аналогичный переговорный автомат, должна быть включена кнопка "Передача". При этом подается питание на усилитель, контакты реле К1.2 подключают выход усилителя к линии, а контакты К1.1 подключают динамик ко входу усилителя. Кнопка "Вызов" переводит усилитель в режим генерации низкочастотных колебаний.
Детали.
Реле К1 типа РЭС-6; конденсаторы типа К50-6, МБМ, резисторы типа МЛТ-0,125 ≈ МЛТ-0,25; динамик типа 0,1ГД-6, лампочка Н1 на 13,6 В; линия связи ≈ телефонный провод; источник питания ≈ три батареи 3336Л, соединенные последовательно.
Переговорный автомат
Doc
Просмотров: 8327