Световое оповещение о вызове

Иногда бывает удобно иметь кроме звукового еще и световое оповещение о телефонном вызове. Например, если спит ребенок, звук у ТА можно отключить. Световое оповещение будет полезно также людям с пониженным слухом. Устройства такого же назначения, но промышленного изготовления — довольно дорогие. Современная элементная база позволяет решить эту задачу очень просто и без больших затрат.
Схема, рис.1, аналогична по принципу работы описанной выше. Через конденсатор С1 выделяется переменный сигнал вызова. После выпрямления на VD5 он поступает на VS1.

Рис.1. Схема светового индикатора сигнала вызова
Рис.1. Схема светового индикатора сигнала вызова
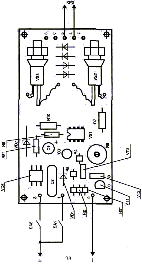
Рис.2 Топология печатной платы
Рис.3 Расположение элементов

В корпусе VS1 находятся два независимых оптронных ключа, один из которых и используется для управления включением лампы. При наличии сигналов вызова лампа будет периодически загораться.
Стабилитрон VD2 и конденсатор С2 позволяют устранить моргание лампы в случае набора номера на ТА, когда в линии формируются импульсы с частотой 10 Гц.
Резисторы, отмеченные на схеме звездочкой "*", могут потребовать подбора. Конденсатор С2 используется типа К73-9 (К73-17) на рабочее напряжение не менее 250 В.
В заключение можно отметить, что приведенные схемы из-за большого входного сопротивления не влияют на режим работы ТЛ и не ухудшают качество работы телефона, даже если он имеет автоматический определитель номера (АОН) или к нему подключен компьютерный модем или факс.

Обсудить эту статью на форуме (0 ответов).
Вся информация, предоставленная на данном ресурсе разрешена к ознакомлению детям школьного возраста. Все практическое использование может быть связана с повышенной электрической опасностью и разрешено детям только под присмотром взрослых.