
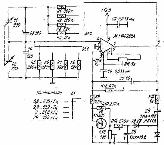
Настройка RC-генератора с помощью сдвоенного конденсатора имеет преимущества по сравнению с настройкой посредством сдвоенных переменных резисторов.
В таких генераторах выше стабильность генерируемых колебаний, облегчена точная настройка на заданную частоту, повышена температурная стабильность генерируемых колебаний. Однако при использовании сдвоенных КПЕ с максимальной емкостью 500 пФ усилитель, работающий в генераторе, должен иметь высокое входное сопротивление.
Такой генератор можно собрать, используя ОУ с входной цепью на полевом транзисторе. Фазовращающая цепь подключена к неинвертирующему входу ОУ. Стабилизация амплитуды генерируемых колебаний осуществляется с помощью транзистора VI. Сигнал с выхода ОУ выпрямляется диодами V2, V3 и поступает на затвор полевого транзистора. При изменении амплитуды колебаний сопротивление сток - исток также изменяется, что приводит к изменению коэффициента передачи ОУ. Таким образом, амплитуда колебаний на выходе генератора остается постоянной. Чтобы коэффициент нелинейных искажений генерируемых колебаний не превышал 0,2 %, эффективное значение напряжения сигнала, устанавливаемое резистором не должно превышать 100 мВ. Резистором R11 балансируют ОУ. При увеличении емкости конденсаторов С8, С9 до 100 мкФ нижнюю рабочую частоту можно понизить до 10 Гц.