Цифровой вольтметр на микросхеме С520D

c5201.png
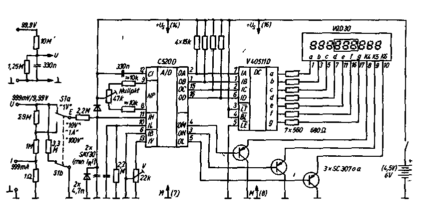
Принципиальная схема вольтметра

c5202.png
Печатная плата

c5203.png c5204.png
Варианты выполнения входной цепи

c5205.png
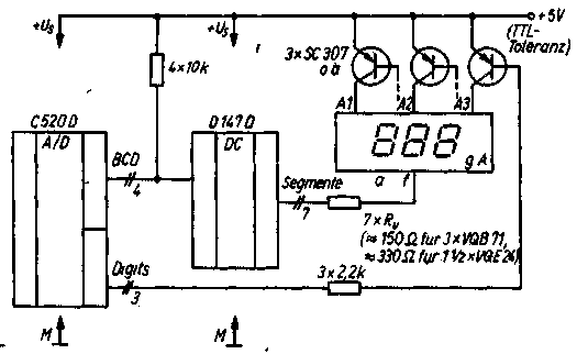
Включение светодиодных индикаторов с общим катодом

В качестве дешифраторов можно использовать, например, К514ИД1, К514ИД2. Возможно использование и К155ИД1, если используются декадные индикаторы.
Транзисторы - типа КТ361 или подобные другие p-n-p проводимости.

Обсудить эту статью на форуме (0 ответов).
Вся информация, предоставленная на данном ресурсе разрешена к ознакомлению детям школьного возраста. Все практическое использование может быть связана с повышенной электрической опасностью и разрешено детям только под присмотром взрослых.