Комбинированный частотомер

Особенность предлагаемого частотомера в том, что он помимо основной функции позволяет определить индуктивность различных катушек, резонансную частоту контуров, емкость конденсаторов. Вот почему частотомер назван комбинированным.
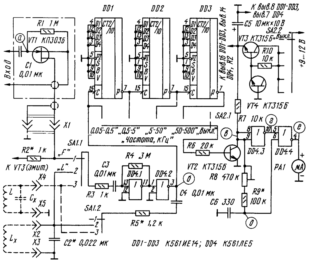
Хорошим помощником радиолюбителю-конструктору станет комбинированный прибор, принципиальная схема которого показана на рис.1. Для его изготовления не требуются дефицитные детали, он прост в налаживании и в эксплуатации. Прибором можно измерить частоту сигналов амплитудой 0,1...5 В синусоидальной или прямоугольной формы в диапазоне от 50 Гц до 500 кГц, а также индуктивность от 4 мкГн до 1 Гн.
Для удобства отсчета показаний рабочий диапазон значений разбит на четыре поддиапазона. Первый из них устанавливают при измерении частоты до 500 Гц. Второй - при измерении частоты от 500 Гц до 5 кГц или индуктивности от 40 мГн до 1 Гн. Третий - при частоте сигнала от 5 до 50 кГц, значениях индуктивности 0,4...40мГн. И четвертый поддиапазон- при частоте сигнала от 50 до 500 кГц и значениях индуктивности 4...400 мкГн. Необходимый поддиапазон устанавливают переключателем SA2, а режим измерений (частота или индуктивность)-SA1. Погрешность измерения частоты не превышает 5%.
Принцип работы частотомера основан на преобразовании входного сигнала в последовательность прямоугольных импульсов со стабильной длительностью и амплитудой и последующем измерении микроамперметром среднего значения тока этой последовательности. Упрощенно работу частотомера поясняют эпюры, приведенные на рис.3. Исследуемый сигнал (рис.3, а) подают на вход буферного узла, который выполнен на транзисторе VT1. Назначение узла - обеспечить большое входное сопротивление и минимальную входную емкость частотомера. С выхода узла сигнал поступает через секцию SA1.1 переключателя SA1 на преобразователь, выполненный на элементах DD4.1, DD4.2. Он служит для формирования из входного сигнала произвольной формы последовательности прямоугольных импульсов, которые с выхода элемента DD4.2 (рис.3, б) поступают либо непосредственно на вход инвертора на транзисторе VT2 (если установить первый поддиапазон), либо на вход делителя частоты (при работе на других поддиапазонах), выполненного на счетчиках DD1 - DD3. Каждый из счетчиков делит частоту входного сигнала на 10, поэтому, независимо от того, какой установлен поддиапазон, частота последовательности импульсов на входе транзисторного инвертора будет не более 500 Гц.
На инверторе DD4.3 и элементе DD4.4 выполнен формирователь стабильных по амплитуде и длительности импульсов. Напряжение высокого уровня с коллектора транзистора VT2 (рис.3, в) поступает на вход инвертора DD4.3 и на интегрирующую цепь R8 R9 C6.
На верхнем по схеме входе элемента DD4.4 устанавливается напряжение низкого уровня (рис.3, г), а на его нижнем входе - высокого (рис.3, д), но с временной задержкой, которая зависит от знамения постоянной времени интегрирующей цепи. Длительность задержки регулируют подстроечным резистором R8, а ее значение определяет длительность импульсов t на выходе элемента DD4.4 (рис.3, е).
Среднее значение тока последовательности этих импульсов измеряют с помощью микроамперметра РА1. Значение тока пропорционально частоте входного сигнала.

Рис. 1 Принципиальная схема
Рис. 1 Принципиальная схема
Рис. 2 Печатная плата
Рис. 2 Печатная плата

А как же работает измеритель индуктивности? Для этого режима переключатель SA1 переводят в положение "L". Преобразователь на элементах DD4.1, DD4.2 превращается в генератор, частота которого определяется значением емкости конденсатора С2 и индуктивностью катушки Lх - ее подключают к гнездам Х2, Х3.
Значение частоты измеряют частотомером (его работа описана выше), а индуктивность вычисляют по формуле: Lх = 1/f^2, где Lх - в мкГн, a f - в МГц.
Для удобства отсчета шкалу прибора можно дополнительно проградуировать в значениях индуктивности или изготовить отдельно для каждого поддиапазона пересчетную шкалу (например, как показано на рис.4) и наклеить шкалы на корпус прибора.
Точность измерений зависит от стабильности амплитуды импульсов на выходе элемента сравнения DD4.4. Амплитуда, в свою очередь, зависит от стабильности напряжения питания. Вот почему прибор питают через параметрический стабилизатор напряжения, выполненный на транзисторах VT3, VT4. В качестве стабилитрона использован эмиттерный переход транзистора VT4, а в качестве основного источника питания - батарея "Крона" (подойдет "Корунд" или аккумуляторная батарея 7Д-0,115).
Возможности прибора можно расширить, приняв во внимание способность работы микросхем 561ИЕ14 на частотах до 2 МГц и установив еще один делитель частоты (на рис.1 он не показан). Тогда увеличится верхний предел измерений частотомера до 1,5...2 МГц и соответственно расширится диапазон измерений индуктивности - до 1 мкГн. Число поддиапаэонов увеличится до пяти.
Также нетрудно предусмотреть возможность измерения резонансной частоты неизвестного контура или значения емкости конденсатора. Для этого необходимо заменить переключатель SA1 на трехпозиционный и установить дополнительные входные гнезда (на рис.1 эти дополнения показаны штриховой линией). Подключив к гнездам Х4, Х5 контур, находят его резонансную частоту-по показаниям частотомера. По известной (или заранее измеренной) индуктивности катушки вычисляют значение емкости по формуле: Сх = 25,33/f^2*L, где f - в кГц, L - в мГн и Сx - в мкФ.
В приборе можно применить следующие детали. Транзисторы: VТ1-КП303А- КП303В; VТ2-VТ4-КТ315А-КТ315И или КТ312А-КТ312В. Конденсатор С2-К73МБМ (если нет возможности подобрать конденсатор такой емкости из имеющихся в наличии, его составляют из нескольких параллельно включенных конденсаторов различной емкости). Подстроенный резистор R8 - СП3-3. Переключатель SA2 - ПГ-2 или П2К.
При отсутствии микроамперметра можно использовать магнитоэлектрическую измерительную головку авометра, например, Ц20 или ТЛ-4 (режим измерений авометра- постоянный ток). В этом случав сам прибор можно выполнить в виде приставки. Необходимо только, чтобы соединительные провода были минимально возможной длины. Для подключения катушек индуктивности можно применить зажимы типа "крокодил".
Монтируют детали прибора (за исключением переключателей SA1, SA2, конденсатора С2 и входного узла) на печатной плате (рис.2) из фольгированного стеклотекстолита. Детали входного узла размещают в корпусе выносного щупа. Это сделано с целью уменьшить значение емкости, которую вносит прибор в измеряемую цепь. Щуп соединяют с прибором экранированным проводом. Гнезда для подключения щупа - от микротелефона. Конденсатор С2 крепят непосредственно между выводами гнезд Х2, Х3.
Налаживание прибора начинают с того, что устанавливают движок резистора R8 в крайнее нижнее по схеме положение, после чего включают питание. Вольтметром контролируют напряжение на конденсаторе С5. Оно должно быть в пределах 5,5...7 В и не изменяться при увеличении напряжения питания прибора от 9 до 12 В. Затем отключают выносной щуп, а переключатель SA1 переводят в положение "F" - измерение частоты. Если стрелка прибора заметно отклонится от нулевой отметки, то это свидетельствует о возбуждении преобразователя (элементы DD4.1, DD4.2). Причиной его могут быть паразитные наводки через близко расположенные соединительные провода переключателей SA1, SA2. Для устранения возбуждения следует развести проводники или установить между выходом элемента DD4.2 и общим проводом конденсатор емкостью до 100 пф.
Далее подключают измерительный щуп и, замкнув между собой его выводы, вновь контролируют работу преобразователя. Только убедившись в отсутствии возбуждения, приступают к калибровке частотомера.
Переключатель SA2 переводят на первый поддиапазон, а на вход измерительного щупа подают синусоидальный сигнал амплитудой 1 ...2 В и частотой 500 Гц. Подстроечным резистором R8 устанавливают стрелку микроамперметра на конечную отметку шкалы. Изменяя амплитуду входного сигнала от 0,2 до 5 В, убеждаются в стабильности показаний частотомера. В противном случае выравнивают чувствительность входного узла подбором резистора R2.
Для налаживания измерителя индуктивности переключатель SA1 переводят в положение "L", а SA2 - на четвертый поддиапазон. К гнездам Х2, Х3 подключают катушку, индуктивность которой известна (4... 10 мкГн). По первой из вышеприведенных формул вычисляют значение частоты, а затем подборкой конденсатора С2 добиваются, чтобы показания частотомера соответствовали этому значению.

Рис. 3 Эпюры
Рис. 4 Перерасчетная шкала
Рис. 4 Перерасчетная шкала
Обсудить эту статью на форуме (0 ответов).
Вся информация, предоставленная на данном ресурсе разрешена к ознакомлению детям школьного возраста. Все практическое использование может быть связана с повышенной электрической опасностью и разрешено детям только под присмотром взрослых.