Генератор ПЧ для настройки приемников

Настройка тракта ПЧ радиовещательного или любительского радиоприемника, особенно если в нем использованы фильтры сосредоточенной селекции на LC-контурах, представляет собой достаточно трудоемкую операцию. Значительно упростить этот процесс позволяет генератор качающейся частоты (ГКЧ), который используют совместно с осциллографом. Схема такого генератора (его можно применять и как обычный генератор фиксированных частот) приведена на рис.1. Он формирует колебания с центральными частотами 465 и 500 кГц и полосой качания до ±20 кГц, а также фиксированных частот 465±25 и 500±25 кГц.
На элементах DD1.1-DD1.3 выполнен генератор пилообразного напряжения. Он состоит из автогенератора, в состав которого входят триггер Шмитта на элементах DD1.1 и DD1.2 и интегратор на элементе DD1.3. Благодаря тому, что цепи заряда и разряда конденсатора С5 различны, на выходе элемента DD1.3 сформировано пилообразное напряжение, а на выходе элемента DD1.2 - короткие импульсы, которые можно использовать для синхронизации развертки осциллографа. Транзистор VT1 выполняет роль буферного каскада. С его выхода (резистор R18) пилообразное напряжение поступает на выход XS1.

 

Генератор ПЧ собран на элементе DD1.4. В его цепь обратной связи включен контур, образованный катушкой индуктивности, конденсаторами С1 - С4 и варикапом VD2. На варикап подаются два управляющих напряжения, одно из которых постоянное (подано через R1 - R4) и определяет центральную частоту генератора, а второе - пилообразное (подано через R17C6), оно определяет полосу качания.
Переключение центральной частоты производят сменой катушки индуктивности L1 и L2 переключателем SA1. Это сделано для того, чтобы упростить настройку прибора и сделать единую шкалу резистора R17.
С емкостного делителя С2 и С3 часть напряжения генератора ПЧ подают на буферный каскад на транзисторе VT2, на выходе которого установлены плавный (R16) и ступенчатый регуляторы (R19 - R21) выходного напряжения.
В конструкции можно применить детали: микросхемы - К176ЛЕ5, К561ЛА7, К176ЛА7; транзисторы - КТ315, КТ312, КТ3102 с любыми буквенными индексами; диод VD1 -КД509, КД521А, КД522Б, Д220, Д223; варикап- KB104A-KB104E, КВ119А; конденсатор С9 - К50-3, К50-6, К53-1, остальные - КЛС, KM, KT; выключатель питания - П2К, МТ1; резисторы R2, R16-R18-СП , СПО, СП4-1, R5 -СП3-3, остальные - ВС, МЛТ. Катушки намотаны на каркасах от катушек ПЧ радиоприемника "Альпинист-407" и содержат 350 (L1) и 310 (L2) витков провода ПЭВ-2 0,08, намотка многослойная.
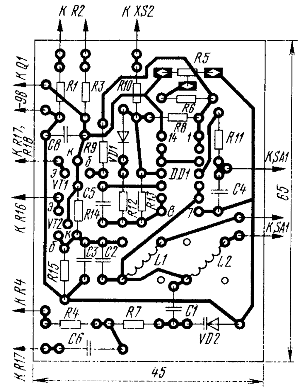
Большинство деталей генератора размещено на печатной плате из фольгированного текстолита. Все переменные резисторы, постоянные R19 - R21, конденсаторы С7 и С9, а также выходные гнезда и выключатель Q1 размешены на передней панели.
Налаживание устройства сводится к градуировке шкал резисторов R2 и R17 и установке требуемой формы пилообразного напряжения. Для этого сначала подключают осциллограф (Rвх=1 МОм) к выходу элемента DD1.3 и резистором R5 добиваются неискаженной формы "пилы". Изменение ее амплитуды выполняют подбором сопротивления резистора R9. Частоту "пилы" можно изменить подбором емкости конденсатора С5.
Затем к выходу генератора ПЧ подключают частотомер, резистор R2 устанавливают в среднее положение, а R17 - в нижнее (по схеме). Магнитопроводом катушки L1 устанавливают частоту 465 кГц, а L2 - 500 кГц, потом градуируют шкалу резистора R2 на обоих поддиапазонах и в случае необходимости подбором резисторов R1 и R3 добиваются требуемого диапазона перестройки и его симметричности относительно центральных частот.
Затем градуируют шкалу резистора R17. Для этого на вход Х осциллографа подают напряжение синхронизации с гнезда XS1 генератора ПЧ, а на вход Y осциллографа - сигнал с гнезда XS4 ("Выход ПЧ" 1:10) генератора ПЧ и через резистор 100 Ом с образцового генератора высокой частоты, который используют как эталонный. Резистором R18 устанавливают длину развертки на ширину всего экрана осциллографа. После этого, вращая резистор R17 и изменяя частоту образцового генератора, по нулевым биениям на экране осциллографа градуируют шкалу резистора R17 "Полоса качания" в кГц.
Питать генератор ПЧ следует от стабилизированного источника с током не менее 20 мА.


И.НЕЧАЕВ, г. Курск, Радио №9, 1993 г., стр.20

Обсудить эту статью на форуме (0 ответов).
Вся информация, предоставленная на данном ресурсе разрешена к ознакомлению детям школьного возраста. Все практическое использование может быть связана с повышенной электрической опасностью и разрешено детям только под присмотром взрослых.