Генератор сигналов для регулировки телевизоров

Генератор создает на экране телевизора испытательные изображения градаций яркости, белого и сетчатого полей. В нем формируется стандартный сигнал строчной синхронизации. Потребляемый генератором ток - менее 4 мА.
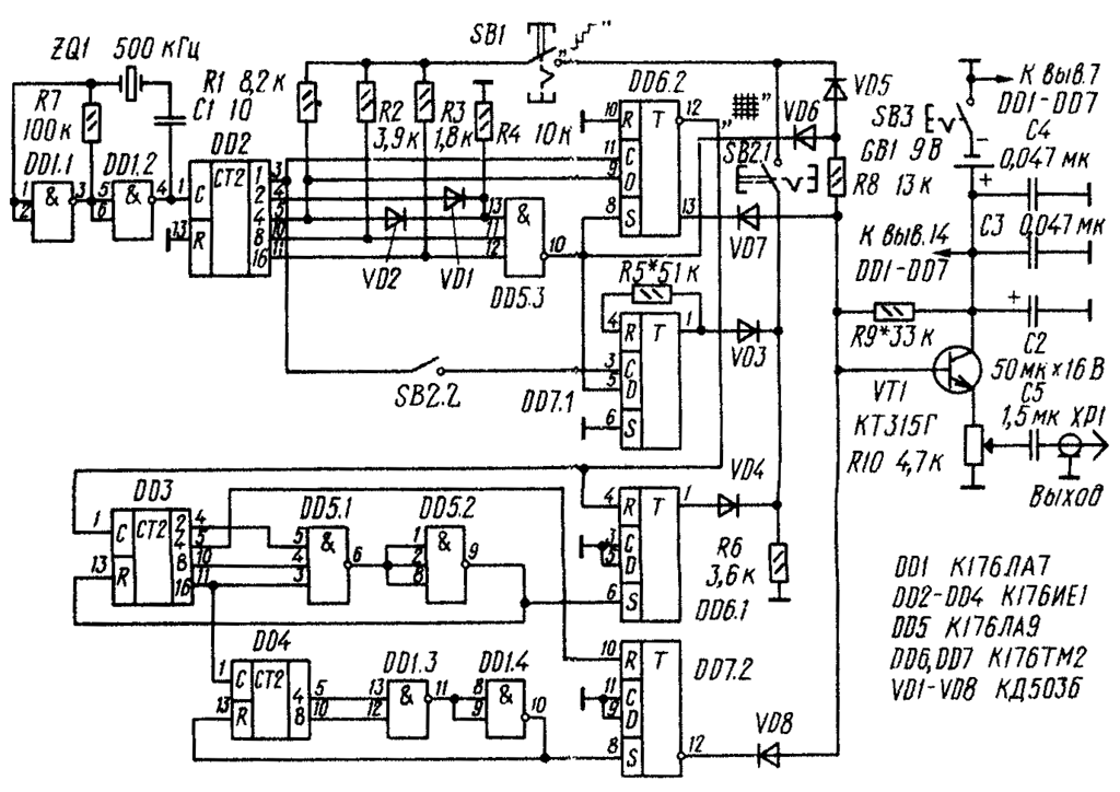
Прибор содержит стабилизированный кварцевым резонатором генератор (DD1.1, DD1.2), делители частоты (DD2 и DD3, DD5.1, DD5.2, DD4, DD1.3, DD1.4), формирователи строчных синхронизирующих (DD6.2) и гасящих (DD5.3, VD1, VD2, R4) импульсов, кадровых синхронизирующих импульсов (DD7.2), сигналов градации яркости (R1-R3) и вертикальных (DD7.1) и горизонтальных (DD6.1) линий сетчатого поля, сумматоры (VD3-VD8, R8, R9) и эмиттерный повторитель (VT1).

 

http://www.radio-portal.ru/https://server.radio-portal.su/cache/3304_1_images_stories_pictures_thumb_medium600_0.png

http://www.radio-portal.ru/images/stories/pictures/3304_1.png

 

Генератор вырабатывает сигнал образцовой частоты 500 кГц, которую делитель DD2 уменьшает до строчной (15625 Гц) на выходе 16. Элемент DD5.3 и диоды VD1, VD2 формируют строчные гасящие импульсы (рис.2, а), триггер DD6.2 синхронизирующие (рис.2,6). Сигнал с частотой полей получается на выходе элемента Dhttp://www.radio-portal.ru/images/stories/pictures/3304_2.pngD1.4 после деления строчной частоты последовательно включенными делителями на счетчике DD3 и элементах DD5.1, DD5.2 (коэффициент деления 26) и на счетчике DD4 и элементах DD1.3, DD1.4 (коэффициент деления 12). С выхода триггера DD7.2 снимаются кадровые синхроимпульсы с частотой повторения около 50,08 Гц (рис.2, в). В нужном соотношении со строчными импульсами они складываются в сумматоре на диодах VD6 - VD8 и резисторах R8, R9 (рис.2, г). Через эмиттерный повторитель на транзисторе VT1 и регулятор уровня - переменный резистор R10 - полный видеосигнал белого поля (при ненажатых кнопках SB1, SB2) поступает на штепсель ХР1, который подключают к видеовходу телевизора.
Для получения напряжения градаций яркости служит формирователь на резисторах R1-R3, представляющий собой цифроаналоговый преобразователь. При нажатии на кнопку SB1 это напряжение добавляется (через диод VD5) к сигналу белого поля.
Импульсы вертикальных и горизонтальных линий сигнала сетчатого поля, формируемые соответственно триггерами DD7.1 и DD6.1, складываются в сумматоре на диодах VD3, VD4 и резисторе R6. Сигнал включают кнопкой SB2.
Питается прибор от батареи "Крона" (можно использовать аккумуляторную батарею 7Д-0.115) и сохраняет работоспособность при снижении ее напряжения до 6 В. Резисторы МЛТ, конденсаторы КТ-1 (С1), КМ-4. КМ-5 или КМ-б (С3-С5) и К50-6 (С2), кнопочные переключатели П2К (SB1, SB2 - с зависимой фиксацией, SB3 - с независимой).
Налаживание генератора сводится к получению желаемых яркости и ширины вертикальных линий подбором резистора R5 по изображению сетчатого поля на экране телевизора. Процентное соотношение амплитуд составляющих видеосигнала при необходимости устанавливают подбором резистора R9 согласно осциллограмме на рис.2, г при испытательном сигнале белого поля.

 

М. РОЗЕНТАЛЬ г. Горький 
P.S. Для повышения надежности работы устройства вход С триггера DD7.1 рекомендуется соединить с общим проводом через резистор сопротивлением 100 кОм.

Радио №8 1987 г. стр.27

 

Обсудить эту статью на форуме (0 ответов).
Вся информация, предоставленная на данном ресурсе разрешена к ознакомлению детям школьного возраста. Все практическое использование может быть связана с повышенной электрической опасностью и разрешено детям только под присмотром взрослых.