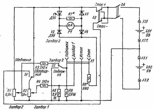
Прибор позволяет проверять работоспособность полевых транзисторов с p-n-переходом, с изолированным затвором и встроенным каналом (обедненный тип), а также одно- и двухзатворных транзисторов с изолированными затворами и индуцированным каналом (обогащенный тип).
Переключателем S3 устанавливают, в зависимости от типа испытуемого транзистора, необходимую полярность напряжения на стоке. Для проверки транзисторов с затвором в виде p-n-перехода и транзисторов с изолированным затвором и встроенным каналом переключатель S1 устанавливают в положение Обеднение, a S2 - в положение Подложка.
Для проверки транзисторов с изолированными затворами и индуцированным каналом переключатель S1 переводят в положение Обогащение, a S2 - в положение Подложка для однозатворных и Затвор 2 для двухзатворных транзисторов.
После установки переключателей в нужные положения к гнездам разъема XI подключают проверяемый транзистор, включают питание и, регулируя переменными резисторами R1 и R2 напряжения на затворах, наблюдают за изменением тока стока.
Резисторы R3 и R4 ограничивают ток затвора в случае его пробоя или при ошибочной полярности напряжения на затворе (для транзисторов с затвором в виде p-n-перехода). Резисторы R5 и R6 исключают возможность накопления статических зарядов на гнездах разъема XI для подключения затворов. Резистор R8 ограничивает ток, протекающий через миллиамперметр P1. Мост (диоды VI-V4) обеспечивает требуемую полярность тока через измерительный прибор при любой полярности питающего напряжения.
Налаживание прибора сводится к подбору резистора R8*, обеспечивающего отклонение стрелки миллиамперметра на последнюю отметку шкалы при замкнутых гнездах Сток и Исток.
В приборе может быть использован миллиамперметр с током полного отклонения 10 мА или микроамперметр с соответствующим сопротивлением шунтирующего резистора R7*. Диоды V1-V4 - любые, маломощные, германиевые. Номинальное сопротивление резисторов R1 и R2 - в пределах 5,1...47 кОм.
Прибор питается от двух батарей "Крона" или от двух аккумуляторов 7Д-0,1.
Данным прибором можно измерять и напряжение отсечки (прибор Р1 должен быть на ток 100 мкА). Для этого параллельно гнездам Затвор 1 и Исток устанавливают дополнительные гнезда, к которым подключают вольтметр.
Последовательно с резистором R7* включают кнопку, при нажатии на которую шунтирующий резистор отключается. При нажатой кнопке устанавливают ток стока 10 мкА и по внешнему вольтметру определяют напряжение отсечки.
Прибор для проверки полевых транзисторов
Doc
Просмотров: 6647