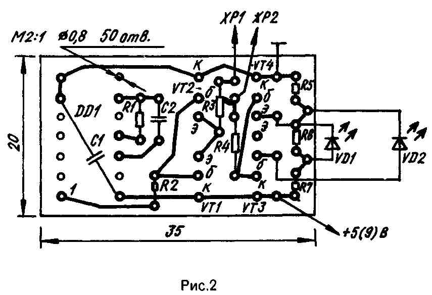
Схема пробника показана на рис.1. Этим пробником можно проверить исправность диодов, транзисторов, кабелей, а также ориентировочно определить логические уровни ТТЛ и КМОП. В отличие от опубликованных ранее этот пробник проще и удобнее использовать для проверки р-п-переходов, поскольку для "прозванивания" в обоих направлениях перехода щупы не нужно менять местами. Пробник способен работать при напряжении питания 4,5 В, потребляя ток около 15 мА и около 45 мА при напряжении 9В. Прибор содержит генератор раз-нополярных импульсов с усилением, собранный на ИМС К176ИЕ5 и комплементарной паре транзисторов (VT1 и VT2), а также схему регистрации (VT3,VT4,VD1,VD2). При наличии на щупе ХР2 потенциала общего провода открывается VT4 и зажигается зеленый светодиод VD1 и потенциал плюса питания открывает VT3, зажигая красный светодиод VD2. Сопротивление резистора R6 выбирают таким, чтобы при напряжении питания 9 В и отсутствии любых сигналов на ХР2 погасли оба светодиода. Генератор вырабатывает импульсы с частотой около 2 Гц и скважностью 1, которые усиливаются по току транзисторами VT1 и VT2, подаются через резистор R3, предотвращающий токовую перегрузку VT1 и VT2, на щуп ХР1. В приборе использованы следующие детали: все резисторы типа МЛТ, транзисторы из серий КТ3102 (VT1,VT3) и КТ3107 (VT2.VT4), по возможности с близкими коэффициентами усиления в парах VT1-VT2 и VT3-VT4, конденсаторы любые малогабаритные, светодиоды АЛ307Б — VD2 и АЛ307Г-VD1. Пробник собран на печатной плате из одностороннего фольгированного стеклотекстолита толщиной 1 мм. Размеры платы 20х35 мм (рис.2). |
Светодиоды установлены на боковой поверхности цилиндрического корпуса диаметром 25 мм и длиной 60 мм. Щуп ХР2 укреплен на торцевой поверхности корпуса через изолирующую прокладку, ХР1 — отрезок изолированного провода, пропущенного вместе с проводами питания через противоположный торец. Провода снабжены "крокодилами". Конденсатор С1 припаян к выводам DD1 непосредственно. При наличии переменного напряжения очень низкой частоты (до 10 Гц) на ХР2 светодиоды зажигаются попеременно, при более высокой частоте их свечение кажется одновременным. Зеленый светодиод информирует о наличии логического 0, а красный — о логической 1. |
Диоды проверяют, подключая их к щупам ХР1 и ХР2. Если попеременно зажигаются оба светодиода, то испытываемый диод пробит, если мигает красный светодиод, то к ХР1 подсоединен анод проверяемого диода, если мигает зеленый светодиод — катод. Аналогично проверяют переходы транзисторов. При наличии между щупами прибора емкости более 1000 пФ светодиоды вспыхивают поочередно, но очень короткими вспышками. Целостность проводников проверяют так же, как и диоды. Отсутствие свечения обоих индикаторов свидетельствует об обрыве.
А.М.Шарый, с.Кувечичи, Черниговская обл., РадиоАматор—№ 9, 1994 г.
|