Генератор сигналов высокой частоты

Генератор сигналов высокой частоты предназначен для проверки и налаживания высокочастотных электронных устройств.

Основные параметры
Диапазон генерируемых частот, МГц 0,12...15
Максимальная амплитуда выходного сигнала (на нагрузке 100 Ом), В, в поддиапазонах  
0,12...0,42 МГц 0,95
0,4┘1,67 МГц 0,8
1,6┘6,67МГц 0,65
5┘15 МГц 0,3
Неравномерность амплитуды выходного сигнала в пределах поддиапазона, дБ 2
Выходное сопротивление, Ом 100
Глубина модуляции звуковой частоты сигналом, % 30
Диапазон модулирующих частот, Гц 30.. 30 000
Погрешность установки частоты, % ╠10
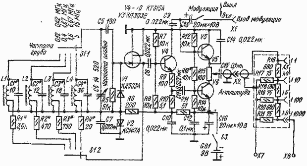
Генератор (рис VII.36) состоит из собственно генератора РЧ (транзистор V3), эмиттерного повторителя (транзистор, V4), выходного усилителя (транзистор V6) и амплитудного модулятора (транзистор V5).

Требуемый поддиапазон генерируемых частот выбирают переключателем S1, перестраивают генератор сдвоенным блоком конденсаторов переменной емкости С6 (обе секции включены параллельно). Диод VI в цепи затвора транзистора V3 выполняет функции ограничителя, повышающего стабильность амплитуды выходного сигнала при перестройке генератора (в пределах поддиапазона). Резисторы R1*-R4* ослабляют положительную обратную связь, улучшая форму колебаний. Напряжение питания этого каскада стабилизировано стабилитроном V2.

С истока транзистора V3 напряжение высокочастотных колебаний поступает на эмиттерный повторитель, обеспечивающий развязку между генератором и нагрузкой. Напряжение, развиваемое генератором (транзистор V3), существенно больше требуемого для нормальной работы последующих каскадов. Поэтому на выходной усилитель сигнал подается с делителя, образованного резисторами R9 и R10 в эмиттерной цепи транзистора V4.

Выходной широкополосный усилитель (транзистор V6) выполнен на схеме с общим эмиттером. Его нагрузкой служит переменный резистор R15, с движка которого сигнал поступает на выходной коаксиальный разъем К2. Для того чтобы обеспечить достаточно широкую полосу выходного усилителя, сопротивление этого резистора должно быть не более 150 Ом. Тогда при емкостной нагрузке около 50 пФ (емкость коаксиального кабеля длиной около 0,7 м) полоса пропускания усилителя 20 ..30 МГц. При этом через транзисторы необходимо пропустить относительно большой ток (около 10 мА). падение напряжения на резисторе R15 должно быть примерно в 2 раза больше амплитуды выходного сигнала.

Амплитудная модуляция осуществляется в выходном каскаде. Транзистор V5 модулятора включен по постоянному току последовательно с транзистором V6, а модулирующее напряжение с разъема XI поступает одновременно на базы обоих транзисторов (на V6 - через резистор R13*). В результате получается смешанная (коллекторно-базовая) модуляция выходного сигнала. Используя такую модуляцию, простым увеличением напряжения ЗЧ можно получить почти 100%-ную модуляцию высокочастотного сигнала при малых нелинейных искажениях. Включают модуляцию выключателем S2.

В генераторе использован малогабаритный сдвоенный блок (его секции при монтаже соединяют параллельно) конденсаторов переменной емкости с твердым диэлектриком КПТМ-4 (от транзисторных радиоприемников "Нейва", "Этюд", "Сигнал", "Орбита"). Ось блока удлинена отрезком латунного прутка диаметром 4 и длиной 18 мм. С одного конца в нем просверлено осевое отверстие глубиной 8 мм, в котором затем нарезана резьба М2. Для соединения использована стальная шпилька М2 X 8, которую ввинчивают на клее БФ-2 в резьбовое отверстие в оси блока КПЕ, а на выступающий конец на том же клее до отказа навинчивают пруток-удлинитель.

Для регулировки выходного напряжения применен переменный проволочный резистор ППБ-1В, однако можно использовать и другой резистор, сопротивление которого не превышало бы 150 Ом.

В генераторе применены конденсаторы KT-1a (С1-С4), К50-6 (С13), КМ (С15) и КЛС (остальные). Все постоянные резисторы, кроме R10-ВС-0,125 (МЛТ-0,125, МЛТ-0,25 и т. п.). Резистор R10 - МОН-0,5, при необходимости его можно изготовить самостоятельно, намотав, например, отрезок провода ПЭВ-2 диаметром 0,06 мм на корпус резистора МЛТ-0,5 сопротивлением не менее 100 Ом. Отрезок провода длиной 790 мм складывают вдвое и закрепляют петлю на резисторе каплей расплавленной канифоли. После намотки концы припаивают к выводам резисторов.

В приборе можно использовать любой полевой транзистор серии КП303 и любые маломощные кремниевые высокочастотные транзисторы.

Статический коэффициент передачи тока транзисторов V4 и V6 должен быть не менее 60, транзистора V5 - не менее 30. Диод VI - любой кремниевый высокочастотный.

Катушки генератора L1 и L2 намотаны на ферритовых кольцах М1000НМ-А-К10 X 6Х 4,5 (внешний диаметр 10, внутренний - 6, высота 4,5 мм, феррит марки 1000НМ). Первая из них содержит 25 + 50 витков провода ПЭВ-2 диаметром 0,15 мм, вторая -7+14 витков провода ПЭВ-2 диаметром 0,41 мм. Катушки L3 и L4 намотаны соответственно на ферритовых стержнях М600НН-2-ССЗ, 5 X 20 (диаметр 3,5, длина 20 мм) и М600НН-3-СС2,8 X 12 (диаметр 2,8, длина 12 мм). Катушка L3 состоит из 10 + 20 витков провода ПЭВ-2 диаметром 0,25 мм, L4 - 4 + 8 витков провода ПЭВ-2 диаметром 0,5 мм.

Обсудить эту статью на форуме (0 ответов).
Вся информация, предоставленная на данном ресурсе разрешена к ознакомлению детям школьного возраста. Все практическое использование может быть связана с повышенной электрической опасностью и разрешено детям только под присмотром взрослых.