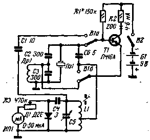
Схема этого комбинированного прибора приведена на рисунке. Наличие в нем встроенного кварцевого калибратора значительно расширяет возможности применения и повышает точность измерений. Имеется также возможность нанести сетку калиброванных частот на шкалу волномера. В нижнем (по схеме) положении переключателя В1 ВЧ колебания через конденсатор С6 подаются на контур волномера И момент его настройки на частоту кварца или его гармонику фиксируется по максимальному отклонению стрелки микроамперметра. Настройка контура на первую гармонику вызывает появление максимальной амплитуды В Ч напряжения на контуре, так что чувствительность индикатора приходится уменьшать с помощью резистора R3. С повышением номера гармоники, на которую настраивается контур, амплитуда ВЧ колебаний уменьшается.
Наличие чувствительного индикатора позволяет использовать прибор в качестве индикатора напряженности поля при настройке антенн.
В качестве дросселя Др1 может быть применена ДВ или СВ катушка радиовещательного приемника. Данные контура L1C1 зависят от требуемого частотного диапазона прибора.
Для диапазона 4-30 МГц катушка L1 содержит 20 витков с отводом от 5, считая от нижнего (по схеме) вывода, провода ПЭЛ 0,29. Она намотана виток к витку на каркасе диаметром 5 мм. Подстроечный сердечник - от сердечника СБ-12а. Конденсатор С1 в этом случае можно применить фирмы "Тесла", соединив обе его секции параллельно.
РАДИО № 7, 1973 г, с.14