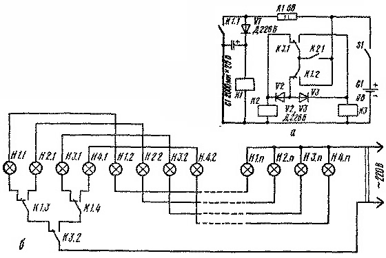
Устройство предназначено для получения эффекта "бегущие огни".
Устройство содержит мультивибратор, выполненный на реле К1, и релейный триггер со счетным входом, выполненный на реле К2 и К3. Работает устройство следующим образом. При включении питания заряжается конденсатор С1 через резистор R1 и диод V1. При достижении определенного напряжения срабатывает реле К1 и своими контактами К1.1 шунтирует часть цепи заряда. Конденсатор разряжается через обмотку реле, и при достижении тока отпускания реле контакты К1.1 разомкнутся, и цикл повторится. Длительность импульсов релейного мультивибратора определяется емкостью конденсатора С1 и сопротивлением реле, а длительность пауз ≈ емкостью конденсатора С1 и сопротивлением R1, меняя величину которого можно установить одинаковую длительность импульсов и пауз мультивибратора.
Вторая группа контактов реле К1 (К1.2) управляет триггером. После срабатывания реле К1 его контакты К1.2 подключают к источнику питания реле К2, которое самоблокируется контактами К2.1 через замкнутые контакты К3.1. После отпускания реле К1 переключающий контакт К1.2 подключает к источнику питания реле К3, которое самоблокируется контактами К3.1. При этом реле К2 остается под напряжением. При последующем срабатывании реле К1 контакты К1.2 отключают диоды V2 и V3, и реле К2 обесточивается, а реле К3 остается включенным через замкнутые контакты К1.2 и К3.1. При отпускании реле К1 его контакты К1.2 отключат реле К3 от источника питания и устройство возвратится в исходное положение.

Детали.
Реле типа РЭС-22; резистор типа МЛТ-2; конденсатор типа К53-6.
Для получения эффекта "бегущие огни" гирлянды, рассчитанные на напряжение 220 В, подключают к свободным контактам реле так, как показано на рисунке б.