Электронный таймер с большим временем выдержки позволяет фиксировать диапазон временных интервалов (выдержек) от 2 до 70 мин с шагом в 1 мин и точностью ≈2 %.
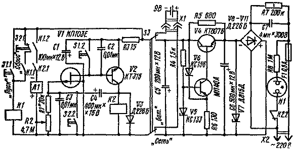
Устройство содержит реле времени на двух транзисторах и сигнализатор А1. Реле может питаться от батареи напряжением 9 В или стабилизированного источника питания, выполненного на транзисторах V4 и VE, Работает таймер следующим образом. Устанавливают выдержку калиброванным резистором R2 и включают питание выключателем S3. При этом транзисторы VI и V2 открываются, реле К2 срабатывает и контактами К2.1 подготавливает к включению сигнализатор А1, а контактами К.2.2 отключает сигнальную лампу HI. При нажатии кнопки S1.1 "Пуск" ее контакты включают реле KI в запирают транзистор V2, переводя реле времени в режим отсчета. При этом реле К2 обесточивается, а К.1 самоблокируется контактами К1.1, а контактами К1.2 подготавливается цепь включения сигнализатора. Как только транзистор V2 закроется, ранее заряжен╜ный через открытый транзистор V2 конденсатор С4 начинает разряжаться, и когда напряжение на нем упадет до напряжения отсечки полевого транзистора VI, последний откроется сам и откроет транзистор V2, что вызовет еще большее увеличение тока стока и срабатывание реле К.2, контакты которого К2.1 замыкаются и включают А1, сигнализирующий об окончании выдержки времени. Снять звуковой сигнал можно, нажав кратковременно кнопку S2.1 "Сброс", при этом снимается блокировка реле К1, и оно выключается, размыкая контактами К1.2 цепь сигнализатора А1, контакты S2.2 закорачивают резисторы Rl, R2, и конденсатор С4 заряжается. Устройство приходит в исходное состояние.
Детали. Резисторы типа МЛТ-0,125 или ВС-0,125 (R7 типа МЛТ-1), R2 типа СП-1А; электролитические конденсаторы типа К50-12 или К50-6; С4 типа ЭТО-2, С7 типа МБГО; переключатель SЗ типа МГЗ; реле К.1, К2 типа РЭС-47; сигнальная лампа HI типа ТН-02; сигнализатор А1 ≈ любое звуковое устройство, работающее при напряжении 8,5 В и потребляющее ток не более 170 мА.
Регулируют таймер, подбирая время максимальной выдержки резистором R2, а время минимальной выдержки ≈ резистором RI, затем калибруют шкалу потенциометра R2, пользуясь образцовым секундомером.