Микрокалькулятор-секундометр

 

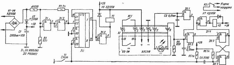
Несложная доработка позволяет превратить микрокалькулятор БЗ-23 в секундомер-таймер. Функции калькулятора при этом сохраняются, и его можно использовать по прямому назначению. Схема соединения дополнительных деталей, позволяющих отсчитывать секунды и включать то или иное устройство через заданные промежутки времени, изображена на рисунке.

Доработка микрокалькулятора сводится к установке на его корпусе разъема XА и соединению исходных деталей микрокалькулятора с контактами разъема согласно схеме. В этом устройстве тактовой частотой служит частота сети, поэтому точность отсчета времени невелика. При необходимости получить более точный отсчет времени потребуется отдельный кварцевый генератор.

Переменное напряжение 4 В с частотой сетевого напряжения поступает на выпрямитель, собранный на диодах VI-V4. С выпрямителя пульсирующее напряжение с удвоенной частотой сети поступает на вход триггера Шмитта, выполненного на элементах D1.1, D1.2. С его выхода отрицательные импульсы с частотой следования 100 Гц воздействуют на вход счетчика D2. В положении Пуск переключателя S1 счетчик считает эти импульсы. На его выходе 12 формируются импульсы с частотой следования 10 Гц и скважностью, равной 2, которые через инвертор D1.3 управляют реле К1.

Для работы устройства в режиме секундомера нужно в положении Стоп переключателя S1 набрать на клавиатуре калькулятора "+" и "0,1"- Тогда в положении Пуск переключателя при каждом срабатывании реле К1 микрокалькулятор выполняет операцию сложения, отсчитывая время через 0,1 с.

При работе устройства в режиме таймера в положении Стоп переключателя S1 необходимо набрать на клавиатуре нужное время выдержки в секундах, а затем "-" и "0, 1". После установки переключателя S1 в положение Пуск микрокалькулятор выполняет операцию вычитания, а его табло индицирует оставшееся время выдержки.

После показания, равного нулю, на индикаторе появится знак "-". При этом совпадают отрицательные импульсы на контакте 5 и положительные на контакте 6 разъема XI. На выход элемента D3.2 пройдут отрицательные импульсы тактовой частоты (около 300 Гц), формируемые в микрокалькуляторе.

Первый же тактовый импульс вызовет переключение RS-триггера на элементах D3.3, D3.4. При этом на вход элемента D1.4 поступит уровень "1" и сработает реле К2. Его контакты коммутируют цепь нагрузки, например, лампы фотоувеличителя, звукового сигнализатора и т. п. Такое состояние устройства сохранится до тех пор, пока на табло микрокалькулятора индицируется знак "-". Если теперь установить переключатель S1 в положение Стоп, набрать на микрокалькуляторе новое значение выдержки и снова включить устройство переключателем S1, RS-триггер возвратится в нулевое состояние отрицательным импульсом, сформированным дифференцирующей цепочкой R5, С4, R6. Это приведет к отпусканию реле К2 и новой выдержке времени. Конденсаторы С2, СЗ гасят короткие импульсы, возникающие в результате переходных процессов в микрокалькуляторе.

Максимальный интервал времени, отсчитываемый секундомером, определяется емкостью индикаторного табло и для микрокалькулятора БЗ-23 равен 10 с.

В секундомере-таймере можно использовать и микросхемы серии К133; диоды - любые, выпрямительные; реле К1 и К2 - типа РЭС-55 (паспорт РС4.569.603П2).

Для питания устройства можно использовать любой трансформатор с напряжением на вторичной обмотке 4 В и током нагрузки не менее 0,15 А. Можно применить имеющийся в продаже блок БП2-1 для питания микрокалькуляторов, предварительно удалив из него конденсатор фильтра. При этом выпрямительный мост VI-V4 в устройстве не нужен.

Обсудить эту статью на форуме (0 ответов).
Вся информация, предоставленная на данном ресурсе разрешена к ознакомлению детям школьного возраста. Все практическое использование может быть связана с повышенной электрической опасностью и разрешено детям только под присмотром взрослых.