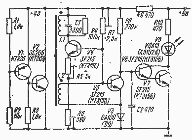
Металлоискатель состоит из параллельного стабилизатора напряжения (транзисторы VI, V2), генератора высокой (около 100 кГц) частоты на транзисторе V4, детектора ВЧ колебаний (V5) и усилителя постоянного тока (V6, V7) с индикатором на светодиоде V8.
Высокочастотное напряжение с катушки связи L2 выпрямляется эмиттерным переходом транзистора V5. Этот транзистор при работе генератора будет открыт, а транзисторы V6, V7 закрыты. Светодиод V8 не светится. Если приблизить какой-либо металлический предмет к катушке LI, то колебания генератора сорвутся, транзистор V5 закроется, V6, V7 - откроются, а светодиод начнет светиться. Катушки LI, L2 наматывают виток к витку на круглом ферритовом стержне от магнитных антенн транзисторных радиоприемников. Они содержат соответственно 120 и 45 витков провода ПЭВ-2 диаметром 0,3 мм. Чем длиннее стержень, тем чувствительность металлоискателя выше.
При налаживании прибора резисторами R5, R7 (движок резистора R6 в среднем положении) устанавливают режим работы генератора таким, чтобы он был на грани возбуждения (светодиод еще светится). Далее движок резистора R6 ставят в такое положение, когда светодиод погаснет. Если теперь приблизить ферритовый стержень к металлическому предмету, светодиод вспыхнет снова. Эту операцию следует повторить несколько раз, стремясь найти такие положения движков подстроечных резисторов R5 и R7, при которых достигается максимальная чувствительность прибора.