Эхолот рыболова-любителя

(Войцехович В., Федорова В.. Радио. 1988, №10, с. 32...36)

Не только рыболова, конечно. Электронный эхолот может быть полезен при самых разных подводных работах.

Эхолот может быть изготовлен в двух вариантах: с пределами измерения глубины до 9,9 м (в его табло - два люминесцентных индикатора) и 59,9 м (три индикатора). Прочие их характеристики одинаковы: инструментальная погрешность - не более ±0,1 м, рабочая частота - 170...240 кГц (зависит от резонансной частоты излучателя), мощность в импульсе - 2,5 Вт. Ультразвуковой излучатель он же и приемник эхосигнала - пластина из титаната бария диаметром 40 и толщиной 10 мм. Источник питания эхолотов - батарея типа «Корунд». Потребляемый ток - не более 19 и 25 мА (соответственно, в эхолотах для малых и больших глубин). Габариты эхолотов - 175х75х45 мм, масса - 0,4 кг.

Структурная схема, поясняющая работу эхолота, показана на рис. 131. Тактовый генератор G1 управляет взаимодействием узлов прибора и обеспечивает его работу в автоматическом режиме. Генерируемые им короткие (0,1 с) прямоугольные импульсы повторяются каждые 10 с. Своим фронтом эти импульсы устанавливают цифровой счетчик РС1 в нулевое состояние и закрывают приемник А2, делая его нечувствительным к сигналам на время работы передатчика.

Структурная схема эхолота

Спадом тактовый импульс запускает передатчик А1 и излучатель BQ1 излучает в направлении дна короткий (40 мкс) ультразвуковой зондирующий импульс. Одновременно открывается электронный ключ S1 и колебания образцовой частоты от генератора G2 поступают на счетчик РС1.

По окончании работы передатчика приемник А2 открывается и приобретает нормальную чувствительность. Эхосигнал, отраженный от дна, принимается тем же BQ1 и закрывает ключ S1. Измерение закончено, на индикаторах счетчика РС1 высвечивается измеренная глубина*.

Очередной тактовый импульс вновь переведет счетчик РС1 в нулевое состояние и процесс повторится.

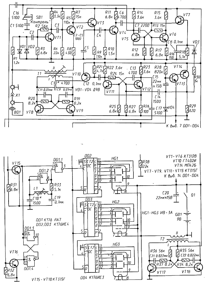
Принципиальная схема эхолота с пределом измерения глубины 59,9 м изображена на рис. 132. Его самовозбуждающийся на частоте ультразвукового излучателя BQ1 передатчик выполнен на транзисторах VT8, VT9. Включением-выключением передатчика управляет модулятор - ждущий одновибратор (VT11, VT12 и др.), подающий через свой ключ (VT10) питание на передатчик в течение 40 мкс.

Транзисторы VT1, VT2 в приемнике усиливают принятый пьезоэлементом BQ1 эхосигнал, транзистор VT3 детектирует их, а транзистор VT4 усиливает продетектированный сигнал. На транзисторах VT5, VT6 собран одновибратор, обеспечивающий постоянство параметров выходных импульсов и порога чувствительности приемника. От прямого воздействия импульсов передатчика приемник защищается диодным ограничителем (R1, VD1, VD2).

В приемнике применено принудительное выключение одновибратора приемника с помощью транзистора VT7. На его базу через диод VD3 поступает положительный тактовый импульс и заряжает конденсатор С8. Открываясь, транзистор VT7 соединяет базу транзистора VT5 одновибратора приемника с «+» источника питания, предотвращая тем самым возможность его срабатывания от приходящих импульсов. По окончании тактового импульса конденсатор С8 разряжается через резистор R18, транзистор VT7 постепенно закрывается, и одновибратор приемника обретает нормальную чувствительность.

Цифровая часть эхолота собрана на микросхемах DD1-DD4. В ее состав входит ключ (DD1.1), управляемый RS-триггером (DD1.3, DD1.4). Импульс начала счета поступает на триггер от модулятора передатчика через транзистор VT16, окончания - с выхода приемника через транзистор VT15.

Генератор импульсов образцовой частоты (7500 Гц) собран на элементе DD1.2. Цепью R33, L1 он вводится в режим линейного усилителя, что создает условия для его возбуждения на частоте, зависящей от параметров контура L1 С 18. Точно на частоту 7500 Гц генератор выводят подстройкой L1.

Сигнал образцовой частоты через ключ поступает на трехразрядный счетчик DD2-DD4. В нулевое состояние его устанавливает фронт тактового импульса, поступающий через диод VD4 на R-входы этих микросхем.

Тактовый генератор собран на транзисторах VT13, VT14. Частота следования импульсов зависит от постоянной времени R28-C15.

Нити накала люминесцентных индикаторов HG1-HG3 питаются от преобразователя напряжения, выполненного на транзисторах VT17, VT18 и трансформаторе Т2.

Кнопка SB1 («Контроль») служит для проверки работоспособности устройства. При ее нажатии на ключ VT15 поступает закрывающий импульс и на табло эхолота появится какое-то случайное число. Через некоторое время тактовый импульс перезапустит эхолот, и, если он исправен, на табло возникнет число 88.8.

Все резисторы в эхолоте - типа МЛТ, конденсаторы - КЛС, КТК и К53-1. Транзисторы КТ312В и ГТ402И можно заменить на любые другие этих серий, МП42Б - на МП25„ КТ315Г - на КТ315В. Микросхемы серии К176 можно заменить на эквивалентные из серии К561. Если эхолот предполагается использовать на глубинах до 10 м, микросхему DD4 и индикатор HG3 можно не устанавливать.

Обмотки трансформатора Т1 намотаны проводом ПЭЛШО 0,15 на каркасе диаметром 8 мм с ферритовым (600НН) подстроечником диаметром 6 мм. Длина намотки - 20 мм. Обмотка I содержит 80 витков с отводом от середины, обмотка II - 160 витков.

Трансформатор Т2 выполнен на ферритовом (3000НМ) кольце типоразмера К16х 10х4,5 Обмотка I содержит 2х180 витков провода ПЭВ-2 0,12, обмотка II - 16 витков провода ПЭВ-2 0,39.

Принципиальная схема эхолота
Принципиальная схема эхолота

Катушка L1 (1500 витков провода ПЭВ-2 0,07) намотана между щечками на каркасе диаметром 6 мм. Диаметр щечек - 15, расстояние между ними - 9 мм. Подстроечник - из карбонильного железа (от броневого магнитопровода СБ-1а).

К посеребренным плоскостям пластины излучателя сплавом Вуда припаивают тонкие выводы. Излучатель собирают в алюминиевом стакане диаметром 45...50 мм (донная часть корпуса оксидного конденсатора). Его высоту - 23...25 мм - уточняют при сборке. В центре дна стакана сверлят отверстие под штуцер, через который будет выведен коаксиальный кабель длиной 1...1,25 м, соединяющий ультразвуковую головку с электронной частью эхолота. Пластину излучателя приклеивают клеем 88-Н к диску из мягкой микропористой резины толщиной 10 мм. При монтаже оплетку кабеля припаивают к штуцеру, центральный проводник - к выводу обкладки, приклеенной к резиновому диску, вывод другой обкладки излучателя - к оплетке кабеля. Собранный таким образом излучатель вдвигают в стакан. Поверхность пластины излучателя должна быть ниже кромки стакана на 2 мм. Стакан закрепляют строго вертикально и заливают до края эпоксидной смолой. После ее затведения торец излучателя шлифуют мелкозернистой наждачной бумагой до получения гладкой плоской поверхности. К свободному концу коаксиального кабеля припаивают ответную часть разъема X1.

Для налаживания эхолота потребуется осциллограф и цифровой частотомер. Включив питание, проверяют работоспособность счетного устройства: если оно исправно, то индикаторы должны высвечивать число 88.8.

Работу передатчика проверяют осциллографом, работающим в режиме ждущей развертки. Его подключают к обмотке II трансформатора Т1. С приходом каждого тактового импульса на экране осциллографа должен появляться радиочастотный импульс. Подстройкой трансформатора Т1 (грубо - подбором емкости конденсатора С 10) добиваются максимальной его амплитуды. Амплитуда радиоимпульса на пьезоизлучателе должна быть не меньше 70 В.

Для настройки генератора образцовой частоты потребуется частотомер. Его подключают через резистор сопротивлением 5,1 кОм к выходу (выв. 4) элемента DD1.2 и, изменяя положение подстроечника в катушке L1 (грубо - изменением емкости конденсатора С18), выставляют нужные 7500 Гц.

Приемник и модулятор настраивают по эхосигналам. Для этого излучатель прикрепляют резиновым жгутом к торцовой стенке пластмассовой коробки размером 300х100х100 мм (для устранения воздушного зазора это место смазывают техническим вазелином). Затем коробку заполняют водой, выпаивают из приемника диод VD3 и присоединяют к выходу приемника осциллограф. Критерием правильной настройки приемника, модулятора и качества ультразвукового излучателя является число наблюдаемых на экране эхо - сигналов, возникающих вследствие многократных отражений ультразвукового импульса от торцовых (разнесенных на 300 мм) стенок коробки. Для увеличения видимого числа импульсов подбирают резисторы R2 и R7 в приемнике, конденсатор С 13 в модуляторе и подстраивают трансформатор Т1.

Вернув на место диод VD3, приступают к регулировке задержки включения приемника. Она зависит от сопротивления резистора R18. Этот резистор заменяют переменным на 10 кОм и находят такую его величину, при которой на экране осциллографа исчезают первые два эхосигнала. Это сопротивление и должен иметь резистор R18. После настройки число эхосигналов на экране осциллографа должно быть не меньше 20.

Для измерения глубины водоема нижнюю часть ультразвуковой головки погружают в воду на 10...20 мм. Лучше иметь для нее специальный поплавок.


--------------------------------------------------------------------------------

*) Ее расчет прост: при скорости распространения звука в воде 1500 м/с, за 1/7500 с фронт сигнала, проделывающего двойной путь, переместится на 0,2 м; и, соответственно, младшая единица на табло счетчика будет соответствовать глубине 0,1 м.

Обсудить эту статью на форуме (0 ответов).
Вся информация, предоставленная на данном ресурсе разрешена к ознакомлению детям школьного возраста. Все практическое использование может быть связана с повышенной электрической опасностью и разрешено детям только под присмотром взрослых.