Электронная газовая зажигалка

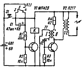
Электронная газовая зажигалка представляет собой генератор импульсов высокого напряжения.

Импульсы генератора создают искровые разряды возле горелки в момент включения газа. Для этого на оси ручки включения газа устанавливают кулачковый механизм, замыкающий контакты S1, находящиеся вблизи ручки. Включается реле К., блокируя контакты кнопки S1 и включая в цепь заряда конденсатор С1. При этом запускается блокинг-генератор, выполненный на транзисторе V2. Открытое состояние транзистора VI сохраняется в течение времени заряда конденсатора С1, после чего транзистор запирается, и реле отключает питание от схемы, переводя ее в исходное состояние.

Детали. Трансформатор блокинг-генератора Т1 выполнен на ферритовом магнитопроводе диаметром 20 мм; обмотка I содержит 140, обмотка II - 70 витков провода ПЭВ 0,47; трансформатор Т2 - катушка зажигания мотоцикла или лодочного мотора; питание - четыре элемента 373 или 343, соединенные последовательно.
Обсудить эту статью на форуме (0 ответов).
Вся информация, предоставленная на данном ресурсе разрешена к ознакомлению детям школьного возраста. Все практическое использование может быть связана с повышенной электрической опасностью и разрешено детям только под присмотром взрослых.