При перебоях в подаче тепла в централизованные системы отопления его источниками иногда становятся бытовые электрические обогреватели. Некоторые их модели снабжены, кроме терморегуляторов, таймерами-выключателями, что повышает безопасность применения. Однако подобные обогреватели стоят дороже и, следовательно, менее доступны. Между тем сделать таймер-выключатель можно самостоятельно.
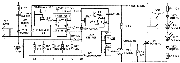
В него входят генератор импульсов с делителем частоты (микросхема DD1), узел управления симистором на микросхеме DD2 и транзисторе VT1 и узел питания с гасящим конденсатором С1. Выпрямитель напряжения питания собран на VD1 и VD2, стабилитрон VD1 служит также стабилизатором напряжения. Конденсатор С2 сглаживает пульсации. Работает таймер так. После нажатия кнопки "Пуск" (при включенном питании) счетчики микросхемы DD1 обнуляются. При этом на выводе 5 микросхемы DD1 устанавливается низкий логический уровень и начинает работать ее внутренний генератор. Его частота зависит от номиналов элементов С4, R7 и одного из резисторов R2—R6. Переключателем SA1 частоту можно изменять в широких пределах. Низкий логический уровень на выводе 5 DD1 разрешает работу генератора импульсов частотой примерно 2 кГц на логических элементах DD2.1, DD2.2. С выхода соединенных параллельно элементов DD2.3, DD2.4 эти импульсы поступают на эмиттерный повторитель на транзисторе VT1, а затем (через дифференцирующую цепь C6R10) — на управляющий электрод симистора VS1. В результате последний открывается спустя не более 0,5 мс от начала каждого полупериода сетевого напряжения и на подключенную к розетке XS1 нагрузку поступает практически все сетевое напряжение. Через 16384/F, с, где F, Гц — частота повторения импульсов встроенного генератора микросхемы DD1, логический уровень на выводе 5 этой микросхемы станет высоким, что остановит работу обоих генераторов. Симистор VS1 больше не будет открываться, и нагрузка обесто-чится. Длительность выдержки (от 0,5 до 30 ч) устанавливают переключателем SA1. Промежуточные значения можно подобрать по своему усмотрению, изменив номиналы резисторов R2—R6. Если сетевое напряжение на некоторое время прервется, отсчет выдержки не будет остановлен. Благодаря диоду VD3 и конденсатору СЗ микросхема DD1 останется активной почти до полной разрядки конденсатора СЗ. Это время достигает нескольких минут. После более длительного отсутствия сетевого напряжения отсчет начнется заново лишь с его восстановлением. При желании можно предусмотреть индикацию режимов работы таймера, введя в него элементы HL1, HL2, VD5, VD6, R11, R12. На рис. 1 их подключение показано штриховыми линиями. Если таймервключен в сеть без нагрузки или она выключена собственным выключателем, будут гореть оба све-тодиода. Если же нагрузка включена и идет отсчет времени, горит только светодиод HL1. По истечении выдержки времени он погаснет, а светодиод HL2 загорится. 
Большинство деталей прибора размещено на печатной плате из одностороннего фольгированного стеклотекстолита (рис. 2). Детали устанавливают со стороны фольги, припаивая их выводы непосредственно к печатным проводникам. Плату вместе с симистором VS1 и его теплоотводом помещают в пластмассовый корпус, имеющий отверстия для естественной вентиляции. Размер отверстий должен быть небольшим, чтобы исключить возможность случайного прикосновения к токоведущим частям устройства. На передней панели устанавливают розетку XS1, кнопку SB1, переключатель SA1 с резисторами R2—R6 и при необходимости — светодиоды Н1_1и HL2 с сопутствующими им элементами. К таймеру можно подключать нагрузку мощностью до 2 кВт при условии, что площадь теплоотвода симистора VS1 — не менее 300 см2 . Проводники, соединяющие симистор с вилкой ХР1 и розеткой XS1, и сами эти узлы должны быть рассчитаны на протекание тока не менее 10 А. В таймере можно применить следующие детали: транзистор VT1 — КТ208, КТ209 с любыми буквенными индексами и другие аналогичные, диоды VD2—VD4 — любые маломощные кремниевые, светодиоды — отечественные или импортные с рабочим током до 20 мА. При мощности нагрузки менее 1200 Вт в качестве VS1 подойдет симистор КУ208В. Конденсатор С1 — К73-16, оксидные (С2 и СЗ) — серии К50, остальные — серий К10, К73. Кнопка SB1 — с самовозвратом, но обязательно с надежной изоляцией. Переключатель SA1 — галетный. Налаживание таймера сводится к установке частоты генератора микросхемы DD1 для получения необходимой выдержки. Делают это подбирая номиналы резисторов R2—R6. Частоту генератора на элементах DD1.1, DD1.2 можно изменить подборкой конденсатора С5. Иногда это улучшает надежность открывания симистора VS1 в начале каждого полупериода сетевого напряжения. Напоминаем о необходимости соблюдать правила электробезопасности .