Сенсорный выключатель освещения

Сенсорный выключатель освещения позволяет надежно коммутировать электроприборы мощностью до 1000 Вт.

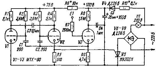
Выключатель выполнен на трех тиратронах с холодным катодом МТХ-90 и тиристоре КУ202Н. На тиратронах VI и V2 собран триггер, который переключается с одного состояния в другое подачей на сетки ламп через конденсаторы С1 и С2 импульсного сигнала с релаксационного генератора, собранного на тиратроне V3, Генератор запускается при касании сенсора Е1. При этом через зажженный тиратрон и резистор R9 разряжается конденсатор С4, формируя на резисторе R9 импульс положительной полярности, который и поступает на сетки ламп VI, V2, переключая триггер. Если горит V2, то через управляющий переход тиристора V5 протекает ток, открывающий его. Открытый тиристор V5 замыкает диагональ моста V6≈V9 и включает нагрузку H1. Если продолжать касаться сенсора, то через 2 секунды триггер переключится в другое устойчивое состояние и т. д.

Детали. Конденсаторы C1, С2 типа КСО-1, СЗ, С4 типа МБМ, С5 типа К50-3; тиристор V5 типа КУ201К, КУ201Л для мощности до 400 Вт или КУ202К, КУ202Н для мощности до 1000 Вт; диоды V6≈V9 с рабочим напряжением не ниже 300 В, рассчитанные на ток нагрузки.

Налаживание начинают с установки постоянных напряжений, указанных на схеме, резисторами R10 и R6, затем проверяют работу сенсора и измеряют напряжение на нагрузке. Если оно окажется ниже напряжения сети более чем на 5 В, то необходимо уменьшить сопротивление резистора R4 и вновь установить постоянное на╜пряжение + 75 В.

Обсудить эту статью на форуме (0 ответов).
Вся информация, предоставленная на данном ресурсе разрешена к ознакомлению детям школьного возраста. Все практическое использование может быть связана с повышенной электрической опасностью и разрешено детям только под присмотром взрослых.