(Поляков В., Радио, 1984, №12, с. 33...36)
Для инфракрасного излучения воздушная среда представляет собой своеобразный фильтр, о прозрачности которого можно судить по спектрограмме, показанной на рис. 128. Для волн «ближнего» ИК излучения - l=0,8...1,3 мкм - ее прозрачность остается достаточно высокой.
До самых недавних пор использование ИК диапазона для нужд связи сдерживалось отсутствием легко модулируемых излучателей. С появлением ИК диодов это препятствие исчезло.
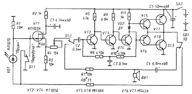
На рис. 129 показана принципиальная схема приемопередатчика, работающего на длине волны 0,95 мкм ( lmax ИК диода АЛ107Б). 
Как выяснилось, ИК диоды неплохо работают и в качестве приемников инфракрасного излучения. В этом случае питание на диод не подают: при засветке p-n перехода на нем возникает ЭДС, зависящая от его освещенности. Такая обратимость ИК диода позволяет существенно упростить оптико-механическую часть аппарата.
Поскольку входное сопротивление усилителя, снимающего сигнал с ИК диода, работающего на прием, должно быть достаточно большим, первый его каскад выполнен на полевом транзисторе VT1. Основное усиление сигнала происходит в усилителе, собранном на биполярных транзисторах VT2-VT4. Его коэффициент усиления Кu@10000.
Выходной каскад усилителя, выполненный на транзисторах VT5-VT8, обеспечивает раскачку динамической головки ВА1 на приеме и достаточную амплитуду колебаний тока в ИК диоде в режиме передачи. При переходе на передачу (переключатель S1 на рис. 129 показан в положении «прием») динамическая головка подключается ко входу усилителя и используется в качестве микрофона. Усиленный в тракте VT2-VT8 сигнал вводится в ИК диод в виде тока звуковой частоты. Его уровень будет зависеть, очевидно, от напряжения на выходе усилителя и сопротивления резистора R8. Излучение ИК диода линейно связано с этим током и будет отслеживать его даже на самых высоких телефонных частотах (ИК диоды обладают достаточно высоким быстродействием).
Очень важным узлом ИК трансивера является его оптическая система. В качестве линзы, концентрирующей световой поток на ИК диоде в режиме приема и «сжимающей» его расходящееся излучение (~40°) в узкий луч в режиме передачи, используется линза от конденсора фотоувеличителя, имеющая диаметр D=70 мм и фокусное расстояние F=85 мм. Отношение D/F@1 рекомендуется сохранять, применяя и какие-либо другие линзы. Не рекомендуется использовать здесь так называемую просветленную оптику. Она просветлена лишь для спектра 0,4...0,7 мкм*.
Конструируя оптическую систему, принимают все меры к минимизации паразитной подсветки ИК диода. Пространство между диодом и линзой нужно наглухо закрыть коническим светонепроницаемым кожухом, а внешнюю подсветку линзы уменьшить надвинутой на нее блендой. Бленду можно изготовить из отрезка пластиковой или металлической тубы, имеющей внутренний диаметр чуть больше D.
Она должна быть возможно более длинной, во всяком случае не менее 2D. Внутреннюю поверхность бленды следует зачернить; лучше, если это покрытие будет матовым.
О других деталях ИК трансивера. Динамическая головка ВА1 - типа 0,1ГД-6, но можно взять и любую другую, имеющую сопротив- ление звуковой катушки в пределах 6...16 Ом. Транзисторы VT2- VT4 - практически любые структуры n-p-n - КТ315, КТ3102 и др. Резисторы R2, R3, R5...R11 - типа МЛТ; R1 - С3-14 или КИМ; R4 - подстроечный или регулировочный любого типа. Источник питания ИК телефона должен быть способен отдать ток 100 мА.
Для наладки прибора потребуется авометр. Включив аппарат на прием, измеряют напряжение Uk на коллекторах транзисторов VT7, VT8. Нужное здесь Uk=+1,5 В получают, изменяя сопротивление резистора R10. Затем проверяют напряжения на истоке транзистора VT1 (+1 В) и его стоке (+2 В). Этот режим устанавливают, изменяя сопротивление резистора R3. Теперь, направив телефон на освещенный предмет, можно услышать шум, а если свет электрический, то и фон переменного тока. Уличные фонари в вечернее время прослушиваются таким образом с расстояния в несколько сотен метров.
Переключив трансивер на передачу, измеряют ток в ИК диоде (чтобы не рвать цепь - по падению напряжения на резисторе R8). Он должен быть в пределах 30...40 мА, максимум - 50 мА. Его регулируют подбором резистора R8.
В заключение измеряют ток, потребляемый трансивером в режиме дежурного приема (10 мА) и при появлении сигнала корреспондента (до 30...40 мА при большой его громкости). В режиме передачи потребляемый трансивером ток должен быть 30...40 мА. Если нет перемодуляции, то он не будет зависеть от громкости сказанного в микрофон. Нужный уровень модуляции выставляют подбором резистора R7.
Для дальнейших экспериментов потребуется второй ИК телефон. Если расстояние между аппаратами невелико, то при приеме усилитель может перегружаться, что скажется на качестве передачи (в приемнике нет АРУ). В этом случае нужно так или иначе уменьшить уровень ИК несущей. Можно, например, задиафрагмировать линзу одного из аппаратов кольцом из черной бумаги.
Поскольку ширина диаграммы направленности ИК телефона близка к 1,5°, наводка их друг на друга представляет определенные трудности. Полезно снабдить аппараты хотя бы простыми визирами.
Лучшей наводке будет соответствовать наибольшая громкость принимаемого сигнала.
В дневное время дальность ИК линии связи достигает нескольких сотен метров. Ее ограничивает посторонняя засветка (прежде всего светлый фон за корреспондентом), увеличивающая уровень шума на приеме. В вечернее и ночное время она возрастает до 1,5 км.
--------------------------------------------------------------------------------
*) Лучше, почти без потерь, фокусируют ИК излучение зеркала с внешним напылением.