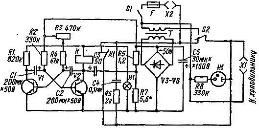
Регулятор температуры холодильника, предложенный Ефимовым, позволяет изменять температуру и экономить электроэнергию при пользовании абсорбционными холодильниками, не имеющими автоматических выключателей ("Морозко", "Украина", "Кристалл" и др.). Схема представляет собой мультивибратор, периодически выключающий с помощью реле холодильник. Мультивибратор выполнен на транзисторах VI и V2 типа МП40-МП42 с Рст = 80. Интервал времени переключения мультивибратора 50 с. С помощью переменного резистора R3 регулируется отношение времени включенного и отключенного состоянии холодильника, а значит, и температура внутри него. Включается холодильник с помощью реле, обмотка которого соединена с коллектором транзистора V2. К контактам реле подключена искрогасящая цепочка, состоящая из резистора R5 и конденсатора С4. Для устранения вибрации контактов реле параллельно его обмотке подключен конденсатор СЗ.
Детали. Лампа HI типа МН-3, Н2 типа МН 15, 26 В X 0,16 А; трансформатор выполнен на сердечнике УШ-12 X 17; первичная обмотка трансформатора содержит 5200 витков провода ПЭЛ-0,08, вторичная- 1060 витков провода ПЭЛ-0,16.