
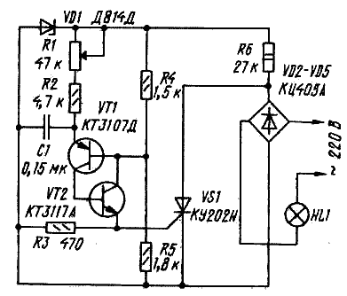
Принципиальная схема регулятора показана на рис. 117. Ключевой его элемент - тиристор VS1, фаза включения которого в каждом полупериоде зависит от постоянной времени цепи (R1+R2)C1.
Устройство позволяет изменять в широких пределах яркость лампы мощностью до 200 ватт. Вообще его нагрузкой может быть любое устройство соответствующей мощности, не содержащее скольконибудь заметной индуктивности: паяльник, кипятильник и т.п..
Если диодный мост КЦ405А заменить другим, с большими рабочими токами, то нагрузку можно увеличить, в пределе - до 2 кВт. Тиристор и диоды моста в таком случае потребуется поставить на теплоотводы.