Автомат отключения телевизора

 

Автомат отключения телевизора отключает телевизор от электросети после прекращения телевизионной передачи. Автомат представляет собой электронное реле, которое срабатывает от постоянного напряжения на конденсаторе частотного детектора. Это напряжение появляется только во время передачи телевизионного сигнала.

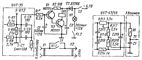
При включении переключателя S1 напряжение сигнала частотного детектора телевизора поступает через резистор R1 на вход усилителя постоянного тока, выполненного на транзисторах VI и V2. Это приводит к срабатыванию реле К1 и блокировке кнопки включения телевизора контактами реле К1.1. В дежурном режиме переключатель S1 необходимо разомкнуть после того, как загорается лампочка HI, сигнализирующая о готовности автомата к работе. После окончания телепередачи исчезает сигнал частотного детектора и с задержкой 10-15 с реле возвращается в исходное состояние, разрывая цепь питания телевизора. Такая задержка необходима для того, чтобы автомат не отключал телевизор от сети при переключении телевизора на другую программу. Величину задержки можно изменять подбором емкости конденсатора С1. Напряжение питания транзисторов 6,3 В - от цепи накала ламп телевизора. Выпрямляется напряжение цепочкой V3, С2.

На рисунке показаны два варианта подключения автомата к телевизорам УНТ-35 ("Рекорд-64", "Рекорд-305", "Весна-5", "Рубин-102", "Старт-3" и др.), а также к телевизорам УНТ-47/59, УЛПТ-47-111 ("Восход", "Огонек", "Рубин-106", "Старт-6", "Электрон" и др.).

Детали. Транзистор VI типа МП35-МП38, V2 типа МПШ - МШ13; электролитические конденсаторы С1 и С2 типа К50-3, реле типа РКН; сигнальная лампа на напряжение 6,3 В.

При налаживании автомата подбирают резистор R1 такой величины, чтобы надежно срабатывало реле К1.

 

Обсудить эту статью на форуме (0 ответов).
Вся информация, предоставленная на данном ресурсе разрешена к ознакомлению детям школьного возраста. Все практическое использование может быть связана с повышенной электрической опасностью и разрешено детям только под присмотром взрослых.