Автомат «вечерний свет»

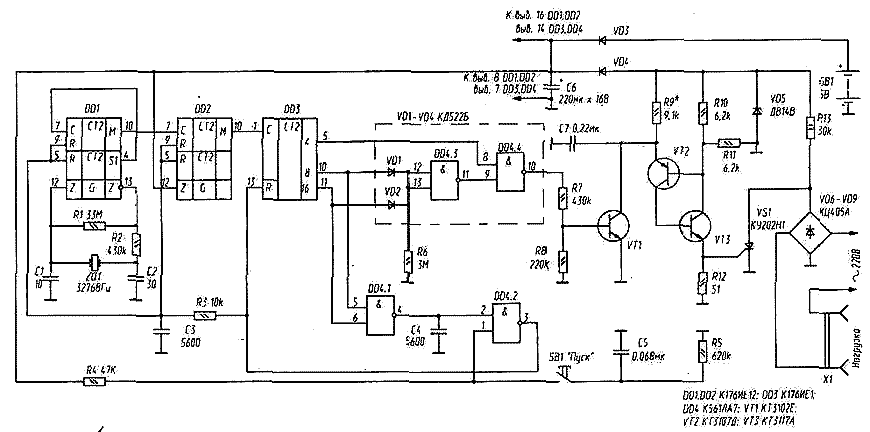
Остающиеся темными по вечерам окна в квартире или на даче нередко беспокоят уехавших хозяев как совершенно очевидный для всех (в том числе и непрошеных «гостей») признак их отсутствия. На рис. 91 приведена принципиальная схема несложного электронного автомата, способного самостоятельно включать и выключать освещение в пустующем помещении.

Здесь DD1 и DD2 - микросхемы часового генератора, a DD3 - счетчик часов, работающий в суточном цикле. Особое время в этом цикле - назовем его экспозицией - формирует дешифратор, составленный из элементов VD1, VD2, DD4.3 и DD4.4.

Силовая часть автомата - диодный мост VD6-VD9, тиристор VS1 и управляющие его включением транзисторы VT2 и VT3 - стала уже классической и подробного описания не требует.

На стабилитроне VD5 формируется напряжение питания как транзисторов автомата (здесь оно пульсирующее), так и его микросхем.

Связь часов с силовой частью автомата осуществляется через транзистор VT1: если он открыт, то тиристор остается запертым в любой фазе сетевого напряжения; если заперт, то тиристор открывается в начале каждого полупериода с минимально возможной здесь отсечкой-задержкой.

Суточный цикл в счетчике DD3 организован с помощью элементов DD4.1 и DD4.2: при появлении напряжения высокого уровня на выходах «8» и «16» счетчика DD3 (позиция, соответствующая 24 часам) на выходе DD4.2 формируется импульс,-возвращающий этот счетчик в исходное состояние. Длительность этого импульса (~2 мкс) зависит от емкости конденсатора С4.

В исходное, нулевое состояние все счетчики автомата переводят нажатием кнопки «ПУСК». Длительность импульса общего сброса - всех счетчиков автомата - зависит от постоянной R4C5 и составляет примерно 0,5 мс. Постоянная R3C3 такова, что значительно более короткие «суточные» импульсы с выхода DD4.2 на R-входы микросхем DD1 и DD2 не проходят.

Рис. 91. Автомат «Вечерний свет»
Рис. 91. Автомат «Вечерний свет»

Гальваническая батарея GB1 - типа 4РЦ-53. Она нужна лишь для сохранения заданной ритмики автомата при длительном отсутствии напряжения в сети.

Все элементы автомата, за исключением тиристора, монтируют на общей печатной плате. Тиристор устанавливают на теплоотвод - 3-миллиметровую дюралюминиевую пластину площадью 20...25 см^2.

Особое внимание следует уделить размещению резистора R13 - самого высокотемпературного элемента автомата. Он, как и теплоотвод тиристора, должен находиться в возможно более активном воздушном потоке. Лучше - на его выходе, с тем, чтобы уменьшить подогрев других элементов.

Гальваническую батарею, во избежание последствий ее разгерметизации, устанавливают в специальном отсеке в нижней части автомата. Хотя опыт показывает, что в хороших электрических сетях надобности в буферном питании практически не возникает. К кратковременным исчезновениям напряжения в сети автомат вообще нечувствителен: медленный разряд конденсатора С6 обеспечивает нормальную его работу в течении 10...20 с.

Поскольку автомат имеет непосредственный контакт с электрической сетью, его монтируют в корпусе, не допускающем прикосновения к токоведущим частям автомата. Например, в коробке из-под слайдов (габариты 94х54х30 мм), изготовленной из ударопрочного полистирола. На корпусе не должно быть, конечно, доступных для прикосновения металлических деталей - головок крепежных винтов и др.

Автомат не требует наладки - правильно собранный, он начинает работать сразу. Рекомендуется лишь проконтролировать напряжение питания микросхем в режиме работы автомата под нагрузкой: оно должно быть выше напряжения буферной батареи (с тем, чтобы и в этом режиме ее энергия не расходовалась). Если оно окажется меньше 5 В, нужно несколько увеличить сопротивление резистора R9.

Поскольку все элементы работающего автомата находятся под сетевым напряжением, подготовку любого эксперимента - от пайки до подключения вольтметра - следует вести, лишь предварительно отключив автомат от сети (оба провода). Пользоваться осциллографом не рекомендуется.

Автомат предельно прост в обращении. Его включают последовательно с нагрузкой - настольной лампой или люстрой (общая мощность - не более 200 Вт) и примерно за четыре часа до наступления сумерек нажимают кнопку «ПУСК». Это все. Через четыре часа (точнее - 3 часа 59 минут) автомат включит свет, а еще через четыре - выключит его. Через сутки, в те же часы, он все это повторит. И так - каждый день*.

Такого рода автоматы могут иметь и иное применение. Нетрудно указать ряд ежедневных рутинных работ, в которых участие человека невозможно, нежелательно или обременительно. Это может быть ночной подогрев теплицы, предутренний - воды в доме без горячего водоснабжения, регулярная вентиляция хранилища, вечерний полив огорода (электронасос), кормление животных, птицы, рыбы (электромеханический дозатор) и многое другое. Не говоря уж об использовании подобных устройств в тех или иных областях профессиональной деятельности человека. В тех же лабораторных исследованиях, где однообразные, регулярно повторяющиеся процедуры занимают нередко большую часть времени.

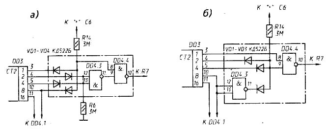
Описанный автомат имеет четырехчасовую задержку первого включения и четырехчасовую ежесуточную экспозицию. Такой порядок задает закоммутированный в нем дешифратор (на рис. 91 он выделен штриховой линией). С другим дешифратором (рис. 92, а) это соотношение было бы иным: задержка первого включения - 9 ч, ежесуточная экспозиция - 1 ч. А автомат с дешифратором, изображенным на рис. 92, б, активизировался бы два раза в сутки: с 7 до 8

Рис. 92. Дешифраторы автомата
Рис. 92. Дешифраторы автомата

и с 23 до 24 часов (0 - время старта). Могут быть, конечно, закоммутированы и другие последовательности активных и пассивных часов работы автомат? (их общее число 2^24=16 777 216), выбор здесь ограничен лишь приемлемой сложностью дешифратора.


--------------------------------------------------------------------------------

*) Если вход С (выв. 1) счетчика DD3 переключить с выхода М (выв. 10) счетчика DD2 на выход М счетчика DD1, это ускорит работу автомата в 60 раз, «сожмет» его сутки в 24 минуты. Этот проверочный режим может быть удобен, в частности, в экспериментах с дешифраторами.



Обсудить эту статью на форуме (0 ответов).
Вся информация, предоставленная на данном ресурсе разрешена к ознакомлению детям школьного возраста. Все практическое использование может быть связана с повышенной электрической опасностью и разрешено детям только под присмотром взрослых.